iPhone следующего поколения может получить систему сменной оптики
Бюро патентов и торговых марок США опубликовало новую патентную заявку Apple, которая описывает технологию, касающуюся различных методов крепления внешних объективов к iPhone, iPad или iPod touch. Сменные «насадки» в стиле Olloclip позволят расширить возможности камеры мобильного устройства. К примеру, смартфон можно будет дополнить широкоугольной линзой, модулями с поддержкой зума или стабилизацией изображения, механическим затвором и т.д.
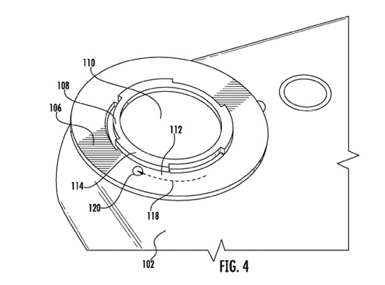
Крепление «насадок» может осуществляться с использованием магнитов или специального кольца с резьбой, которое располагается непосредственно на корпусе устройства вокруг его тыльной камеры. С помощью этого кольца объектив можно присоединить к iPhone или iPad. Установка и снятие фотоаксессуаров осуществляются достаточно легко – простым поворотом.

Необходимость во внешних объективах для iPhone обусловлена недостатком свободного места для компонентов, говорится в документе. Более мощная камера неминуемо скажется на весе гаджета и толщине его корпуса. Некоторые производители, впрочем, этого не стесняются. К примеру, у модели Lumia 1020, которая оборудована 41-мегапиксельным фотосенсором, на задней крышке есть заметное утолщение корпуса.

Идея аппаратного дополнения, улучшающего оптику смартфона, не нова. Осенью прошлого года Sony выпустила линзы QX10/100, которые крепятся на устройство при помощи клипсы. Они выглядят как объективы, но внутри них находится такая же начинка, как в камерах компании: фирменный CMOS-датчик, зум, стереомикрофон и даже слот для карт памяти. Также QX10/100 оснащены кнопками затвора и питания, собственным аккумулятором (заряжается по microUSB) и рычажком зума.

О том, когда сменные линзы могут появиться в iPhone, в патенте не сообщается.