iPhone может получить «всесторонний» дисплей

iPhone может получить «всесторонний» дисплей

Стало известно, что Apple подала еще одну интересную патентную заявку, которая намекает на то, что следующие поколения iPhone могут значительно отличаться от текущих.

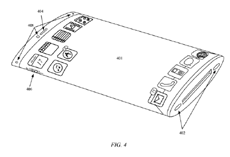
Итак, патент описывает «оборачивающийся» AMOLED-дисплей, который, благодаря свой форме, сможет сделать новый iPhone состоящим исключительно из экрана. Как видно на иллюстрации, все физические кнопки (например, регуляторы громкости) будут заменены на сенсорные. Кроме того, дизайн гаджетов, наделенных подобным экраном, можно будет назвать «бесшовным», а формы, которые могут принять устройства с таким дисплеем, могут быть любыми: от параллелепипедов со скругленным углами до циллиндров.

Сам патент описывает не только то, как будет реализована «бесшовность», но и то, что устройства с таким дисплеем будут обладать технологией распознавания лиц, а наложение дисплеев друг на друга будет способно порождать различные визуальные эффекты; а стекло, покрывающее панель, будет пропускать радиоволны. Еще одна интересная деталь: поскольку дисплей будет «повсюду», то технология должна будет отличать важные прикосновения от случайных — и то, что это предусмотрено, описано в заявке. Для этого будет использоваться камера устройства и различные сенсоры.

Конечно, наличие патента не гарантирует того, что технология найдет применение в ближайших товарах компании. Однако предпосылки верить в то, что такого рода гаджет выйдет на рынок, все-таки есть.

Источник: planetiphone.ru