iPhone 7 получит Force Touch ID
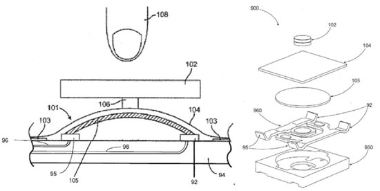
По информации аналитической компании Cowen and Company, Apple планирует отказаться от физической кнопки Home в iPhone 7. Вместо этого смартфон оборудуют сенсорной клавишей с использованием технологии Force Touch, которая позволяет различать силу нажатия и применяется в Apple Watch.

Ранее в сеть уже сливали фотографии фронтальной панели смартфона с сенсорной кнопкой Home. Подобное решение позволит упроситить взаимодействие пользователей со смартфоном, а продвинутый вибрационный мотор Taptic Engine обязан заменить ощущения от физического нажатия. Сейчас подобная система используется в трекпадах актуальных MacBook, где сенсорная поверхность неподвижна, однако при нажатии создается ощущение отклика.

В связке с отказом от 3,5-мм разъема для подключения наушников, подобное устройство кнопки Home позволит сделать смартфон водонепроницаемым. Пока что этот слух подтверждается лишь косвенно, поскольку отказ от привычного гнезда для наушников может быть обусловлен и другими намерениями. Например, Apple может сделать устройство тоньше или оборудовать большей батареей.

Ранее стало известно, что Apple получила патент на изготовление кнопки Home из так называемого «жидкого метала», который отличается повышенной устойчивостью к повреждениям и значительно легче конкурентных решений, вроде алюминия.