iPad может получить революционную звуковую систему
Вне зависимости от того, сколько в современных планшетах присутствует динамиков, все они используют одинаковые технологии для воспроизведения звука. В новом патенте Apple описана впечатляющая технология, позволяющая в корне изменить это.

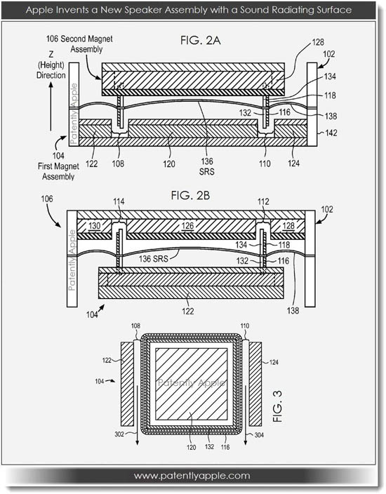
Как сообщает Patently Apple, не так давно Бюро по патентам и торговым маркам США опубликовало несколько патентов Apple, в одном из которых присутствовало описание технологии, позволяющей внедрить динамик прямо в дисплейную рамку iPad.


Использование нескольких магнитных катушек, расположенных вдоль противоположных граней корпуса, может позволить Apple существенно улучшить качество звучания iPad, что будет выгодно отличать планшет от решений конкурентов, присутствующих на рынке планшетов.
Остается надеяться, что такая технология появится в новых iдевайсах уже совсем скоро.