iPad Air второго поколения получит фирменную клавиатуру-обложку в стиле Surface
Планшеты iPad следующего поколения будут оснащаться специальной обложкой двойного назначения, которая одновременно является клавиатурой и защитным чехлом. По крайней мере такой вывод можно сделать из новой патентной заявки Apple. Конструктивно аксессуар под названием iPad Smart Cover будет напоминать обложку-клавиатуру для планшетных компьютеров Surface.
Несмотря на отдельные успехи, Microsoft так и не удалось сделать свой планшетный компьютер культовым, показатели продаж достаточно скромны. Но вместе с тем, нельзя не признать, что в устройстве были использованы некоторые интересные решения, достойные для того, чтобы найти применение в других устройствах подобного форм-фактора.

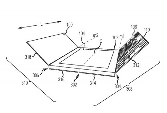
В патенте Apple описан фирменный вариант магнитной обложки для iPad, которая будет совмещена с сенсорным клавишным блоком. Обложка является одним из самых сложных компонентов, говорится в документе. Ее необходимо сделать достаточно тонкой, чтобы она не причиняла дискомфорта, и достаточно надежной, чтобы собственно защищать экран. Запатентованная конструкция Apple предусматривает несколько вариантов складывания частей корпуса, а также «умные» магниты, прикрепленные к краям крышки.

Клавиатура будет соединяться с iPad по беспроводному интерфейсу Bluetooth и поддерживать функцию управления жестами. Распознается «свайп», «тап», нажатия различной интенсивности и другие команды. По сути, такая клавиатура служит аналогом традиционному тачпаду. Кроме того, аксессуар будет защищен от попадания влаги, легко чиститься и поставляться в разных цветах, указывает Apple.

Предполагается, что новинка будет предлагаться для устройства опционально, как альтернатива «умной» обложке Smart Cover.