Huawei придумала, как избавиться от главного недостатка смартфонов с гибким дисплеем
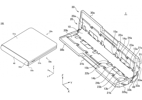
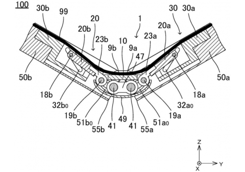
Компания HUAWEI уже получила несколько патентов, описывающих устройства, в которых использованы гибкие OLED-дисплеи. Очередной же документ, зарегистрированный патентным ведомством, раскрыл планы производителя по внедрению механизма, исключающего главный недостаток таких гаджетов — наличие щелей и складок между корпусом и экраном.





В качестве способа решения конструкционного недочёта, который выражается в образовании пространства между половинками гибкого дисплея в закрытом состоянии, инженеры HUAWEI предложили сложный механизм шарнирного соединения. По задумке компании, при закрытии устройства область дисплея в месте сгиба будет утапливаться в корпус гаджета, распирая установленные внутри подпружиненные опоры.
Таким образом образовавшаяся складка не будет мешать плотному совмещению половин дисплея, что исключит попадание мусора и пыли, которые могут пагубно повлиять на функциональность чувствительного к механическим воздействиям стекла гибкого экрана.
Пока подобный механизм существует исключительно на бумаге, но не исключено, что в дальнейшем HUAWEI возьмёт такую технологию на вооружение и внедрит её в новое поколение смартфонов серии Mate X.