Google запатентовала систему интеграции дополненной реальности в линзы обычных очков
Корпорация Google запатентовала систему для очков дополненной реальности, которая позволит проецировать изображение в глаз прямо из линзы очков. Сейчас эту функцию выполняют дополнительные призмы или другие элементы. Документ опубликован на сайте Управления по патентам и торговым маркам США.
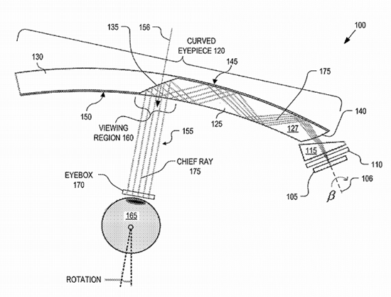
Линза в разработке Google состоит из двух частей: в одной располагается световод, в другой — проекционная система, которая состоит из экрана и призмы. Лучи с экрана попадают в световод, а затем перемещаются к центру линзы, в которой составные части соединяются.
В прототипе устройства толщина линзы составляет около 4 мм, однако в будущем ее уменьшат за счет использования полимеров вместо стекла. Появится ли устройство на рынке, не сообщается.
