Google может продолжить эксперимент с модульным смартфоном
Когда-то в 2012 году Google загорелась идеей создать модульный смартфон. Сама компания назвала свою разработку Project Ara и приступила к созданию мобильника, состоящего из сменных компонентов. По задумке на свет должна была родиться мечта гика — устройство, которому можно делать «вечный» апгрейд. Причем предполагалось, что менять компоненты можно будет самостоятельно без визита к мастерам. Но проект так и дошел до финальной стадии и Google, посчитав все риски и дороговизну такого творения, приостановила работы над Project Ara в 2016 году. А вот саму идею модульного мобильника компания не похоронила.
![]()
![]()
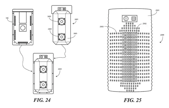
В конце прошлого года Google оформила патент, который связан с созданием модульного аппарата. Патентная документация описывает смартфон-конструктор, состоящий из сменных модулей, которые крепятся посредством магнитных коннекторов к основному шасси. Можно менять дисплей и камеры, а также есть поддержка дополнительных компонентов, включая второй экран, альтернативный аккумулятор, память и фитнес-трекер. Сама основа мобильного «лего» может быть разной формы и изготовлена из различных материалов. Стоит помнить, что это только патент и к его реализации Google может приступить через несколько лет, когда технологии позволят создать «самосборной» мобильник или же вовсе он так и останется существовать на бумаге, как плод фантазии инженеров.
