Essential запатентовала способ достижения смартфоном полной "безрамочности"
Основанная создателем Android Энди Рубиным фирма Essential, ставшая первопроходцем в области "челкафонов", в скором времени надеется и вовсе избавиться от выреза, превратив лицевую панель устройства в один сплошной экран. Абсолютной "безрамочности" планируется достичь за счет технологии, которая прячет фронтальную камеру позади дисплея.

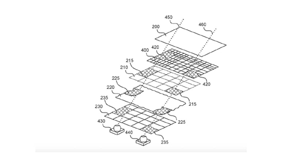
Как описано в одном из патентов Essential, селфи-камера может быть размещена под многослойным экраном "с прозрачной областью, которая позволяет свету извне достигать фотосенсора для записи изображения", либо позади цветного слоя. Это изобретение позволит полностью избавиться от рамок вокруг экрана и убрать выемку верхней части.

Другая разработка предполагает создание специального углубления внутри панели, в которое может быть помещена камера. "Получающийся в результате электронный дисплей занимает всю сторону мобильного устройства, а датчики размещаются внутри и окружаются экраном", — говорят инженеры.
Как пишет TechCrunch, Essential обладает рядом интересных патентов, связанных с необычным расположением "глазка" смартфона. Компания, например, предлагает спрятать камеру позади иконки или сделать так, чтобы она была выдвигалась из корпуса, как перископ. Однако намерен ли производитель реализовывать эти идеи в коммерческих продуктах, пока неясно.