Экран на гранях смартфона: новый патент Apple
До выхода нового айфона осталось как минимум полгода, а интернет ужо вовсю смакует очередную партию слухов и утечек. А сама Apple только подогревает этот интерес.
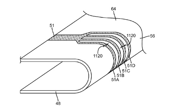
Патентное бюро США выдало компании из Купертино патент на гибкие дисплеи (flexible displays) для мобильных устройств.

Концепт iPhone 6 Infinity
В патенте описываются некоторые варианты дизайна OLED-дисплея. Мечты многих создателей концептов могут воплотиться в реальность: Apple, возможно, готовит безрамочный смартфон.
Указанный в патенте экран, в сравнении с теми, что используются в iPhone сейчас, будет более чувствительным и тонким. Кроме того, дисплей будет продолжаться на грани девайса. С помощью дополнительных сенсоров будет определяться ориентация экрана. Вероятно, боковые грани могут использоваться для вывода уведомлений.

В октябре 2013 года свои «гнутые» смартфоны представили компании Samsung и LG. Отличие от патента Apple заключается в том, что Galaxy Round и LG Flex по форм-фактору представляют из себя телефоны выгнутой формы (одни горизонтально, другой вертикально), то есть не «гибкие», а «изогнутые».
В отличие от конкурентов, Apple придётся решить ещё и проблему ложных срабатываний боковых граней. Впрочем, можно не сомневаться, что калифорнийцы учтут возможные слабые места своей новинки. Если, конечно, она вообще появится на рынке.