Двухсторонний USB-коннектор Apple избавит от вечных сомнений
В Apple решили исправить главное неудобство USB-интерфейса – чувствительность к ориентации штекера. Корпорация из Купертино патентует конструкцию двухстороннего коннектора, который можно вставлять в гнездо любой стороной. Заявка была подана 21 января 2014 года.
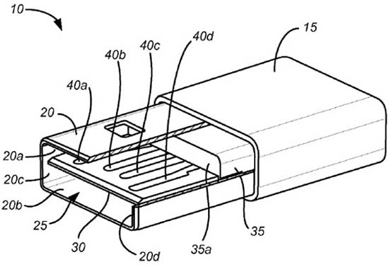
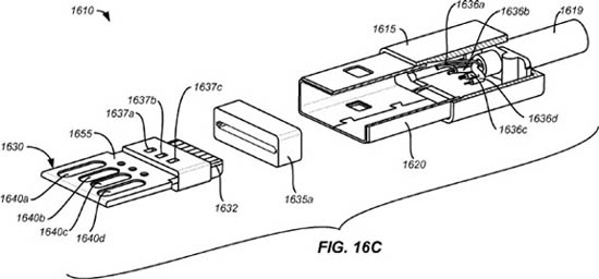
Можно представить, сколько проклятий ежесекундно обрушивается на изобретателей нынешнего USB-интерфейса. Неудобства несимметричного разъема очевидны. В Apple разработали улучшенный разъем, описав его конструкцию в патентной заявке. Новый штекер, по замыслу компании, будет двухсторонним, то есть его можно будет переворачивать.

В документе говорится, что изобретение «может уменьшить риск повреждения разъема и раздражение пользователя вследствие неправильного подключения штекера USB в гнездо». К достоинствам разработки можно отнести то, что двухсторонний разъем будет полностью совместим со стандартной розеткой USB Type A.
Изобретение заключается в новой конструкции разъема. Контакты находятся на обеих сторонах центральной части. Сигналы на них выведены таким образом, что ориентация разъема не имеет значения — при повороте относительно продольной оси на 180° расположение и назначение контактов остается прежним.

Напомним, в декабре прошлого года организация USB 3.0 Promoter Group, отвечающая за разработку стандарта, анонсировала новую версию USB-коннектора Type-C. Его особенность заключается в том, что пользователям больше не придется угадывать, какой стороной вставлять кабель в USB-слот. С существующими на данный момент разъемами USB-коннектор несовместим.