Для консоли Nintendo Switch может быть выпущен шлем виртуальной реальности
13 января компания Nintendo раскроет подробности о своей грядущей консоли Switch. Между тем Управление США по патентам и торговым маркам (USPTO) опубликовало патентную заявку Nintendo на конструкцию этого игрового устройства.
Концепция Nintendo Switch, напомним, предусматривает самые разные варианты использования. В стационарном режиме устройство находится в док-станции, с помощью которой подключается к телевизору и подзаряжается. Если извлечь Nintendo Switch из этой базы, консоль переходит в портативный режим.
Новинка оснащена съёмными контроллерами Joy-Con с каждой стороны. Один игрок может держать манипуляторы в обеих руках, а два игрока могут взять по одному контроллеру. Кроме того, контроллеры можно вставить в специальный держатель.

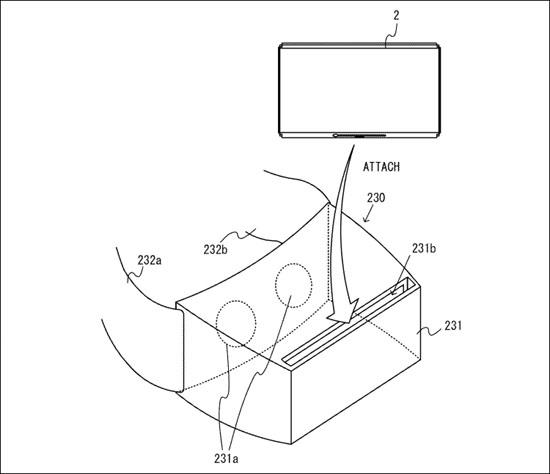
В патентной заявке, поданной 10 июня нынешнего года и обнародованной 15 декабря, приводятся многочисленные изображения, иллюстрирующие конструкцию Nintendo Switch. Причём на одном из них представлен аксессуар в виде шлема виртуальной реальности.

По задумке Nintendo, основной модуль консоли может использоваться в качестве основы для VR-шлема. При этом управление может осуществляться при помощи уже упомянутых контроллеров.
Таким образом, Nintendo Switch будет представлять собой по-настоящему универсальное устройство. Впрочем, пока не ясно, будет ли аксессуар в виде шлема выпущен на коммерческий рынок.