Что в новом iPhone будет от Galaxy Fold
Нынешний век, несомненно, можно назвать веком высоких технологий. Согласитесь, еще совсем недавно существование сенсорных телефонов и планшетных компьютеров казалось нам чем-то немыслимым, как когда-то люди отрицали любые попытки полетов. Однако наука постоянно находится в движении, и скоро, возможно, мы с вами увидим уже совершенно новые электронные устройства. И среди них будет iPhone.
Технология применения изогнутого стекла в мобильных телефонах сейчас не кажется инновационной. Мы уже видели такие телевизоры и прототипы смартфонов. А кто-то идет дальше: например, самый яростный конкурент Apple — Samsung, в своем смартфоне Galaxy Fold применил технологию согнутого пополам дисплея. Правда, мы уже знаем, что южнокорейский производитель слишком поторопился.
Apple выпустит сгибаемый iPhone
Что мешает Apple выпустить подобный телефон? Да ничего, просто компания не может выпускать на рынок настолько недоработанный продукт. И мне кажется, в Купертино вряд ли пойдут по пути Samsung и Huawei, которые просто взяли и сложили свои телефоны пополам. Об этом свидетельствует и один из патентов Apple, который отличается от технологии, реализованной в других гаджетах на мобильном рынке.
В процессе производства изогнутого стекла велика вероятность того, что устройства в дальнейшем могут быть повреждены вредным газом или иными химикатами. В Купертино, напротив, придумали новое оборудование для выпуска таких дисплеев, что позволяет уменьшить риск появления бракованных телефонов. Если так оно и есть, то это будет отличным ответом другим производителям смартфонов. Плюс это уникальное решение, чего так любят пользователи Apple.

Как видите, это не iPhone, согнутый по грани, а телефон, который может чуть сгибаться по краям. Проще, чем Fold? Да. Хуже? Вряд ли. Схожая технология применяется в iMac, правда в том случае дисплей чуть изогнут, но не подвижен. Новая технология позволит сделать стекла для дисплеев тоньше и, что немаловажно, намного крепче. Сейчас вероятность повреждения дисплея iPhone при падении весьма велика, а ремонт этого элемента влетает в копеечку.
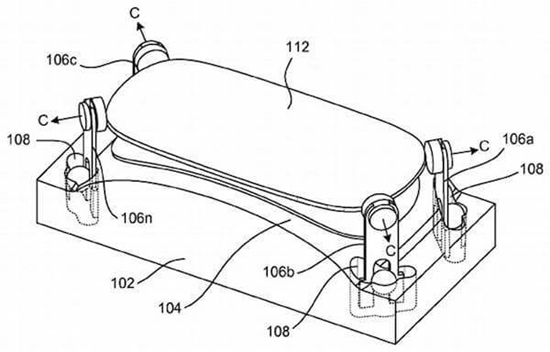
Такой вариант выглядит гораздо интереснее за счет того, что он позволит класть iPhone в карман, не боясь согнуть телефон. Корпус в этом случае наверняка тоже сможет сгибаться: здесь Apple как раз пригодится «шарнирный» механизм Samsung, который она использует в Galaxy Fold. Отличие в том, что корпус будет сгибаться не полностью, а частично.

Шарниры, применяемые в Galaxy Fold
Кроме того, изогнутый экран открывает новые возможности взаимодействия с контентом: с таким прямо мини-кинотеатр сделать можно. Мне подобная реализация нравится гораздо больше.
Мы уже привыкли, что если Apple что-либо патентует, она, скорее всего, собирается использовать это в своих следующих продуктах. Пока не ясно, будет ли новое поколение iPhone оснащено изогнутым дисплеем, или же технология найдет свое применение в планшетах iPad. В любом случае, это точно случится не раньше, чем через несколько лет.