Будущая мышь Apple Mouse получит функцию портативного сканера
18 ноября Бюро по регистрации патентов и торговых марок США выдало компании Apple патент, описывающий компьютерную мышь со встроенным хроматическим сенсором, предназначенным для сканирования поверхности, на которой располагается устройство. Таким образом, компания может создать периферийный гаджет, играющий роль портативного сканера.
В самом документе U.S. Patent No. 8,890,815 уточняется, что «внедрение хроматического датчика в компьютерную мышь» представляет собой один из вариантов замены громоздких сканеров более компактными технологиями.
За последнее десятилетие компьютерная мышь значительно эволюционировала и заменила традиционные шарики для прокрутки на оптические датчики, а позднее и на лазерные сенсоры. К примеру, в Magic Mouse от Apple уже давно была реализована система лазерного отслеживания поверхности, что позволяет комфортно использовать устройство без коврика.

Включение же хроматического датчика или нескольких сенсоров (наподобие CMOS или его аналогов), по мнению разработчиков из Купертино, предлагает достойную альтернативу существующим оптическим технологиям. Ключевое отличие от существующих стандартов заключается в том, что такие датчики способны не только подстраиваться под форму используемой в качестве коврика поверхности, но и распознавать такие ее характеристики, как цвет и т.п.
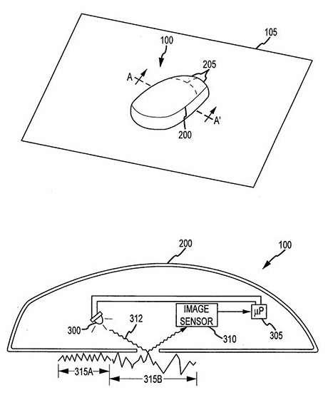
Интересно, что в патенте Apple речь идет об использовании специальных светодиодов или лазеров, которые могут быть настроены на излучение света строго определенных волн, что позволит хроматическому датчику более детально различать цветовые характеристики поверхности.

Во время работы с такой мышью свет от лазера или светодиода будет отражаться используемой в качестве коврика поверхности, и падать непосредственно на светочувствительный сенсор. Путем анализа полученных таким образом данных мышь сможет автоматически подобрать необходимую интенсивность света или, к примеру, скорректировать настройки для учета толщины стекла на столе.
В Apple отмечают, что при работе на гладком однотонном белом столе, как правило, необходима более высокая частота семплирования, тогда как текстурированный коврик позволяет уменьшить уровень светоотдачи и сэкономить энергию.
Эти же технологии хроматической обработки могут использоваться для сканирования, которое создатели патента описывают, как «ленточное сканирование». Название связано с тем, что для оцифровывания большинства изображений и документов необходимо объединить вместе несколько картинок в виде полос или лент, которые были отдельно отсканированы во время перемещения мыши по поверхности. В патенте также отмечается, что подобный функционал может оказаться полезным в тех случаях, когда мышь работает как не подключенное к компьютеру автономное устройство или, другими словами, как портативный сканер.


Заключительным новшеством в патенте является реализация дисплея, встроенного в заднюю часть корпуса мыши и предназначенного для предварительного просмотра оцифрованных изображений. Экран может представлять собой как OLED-компонент, так и массив цветовых фильтров или реализацию любой подходящей технологии. При этом мышь можно использовать для того, чтобы «вырезать» необходимый участок изображения перед его отправкой на компьютер.