Apple запатентовала «неубиваемый» кабель для смартфонов
Оригинальный кабель Apple для смартфонов и планшетов не раз подвергался критике за сравнительно быстрый выход из строя. Чаще всего «под раздачу» попадала его оболочка, которая трескалась в процессе эксплуатации. Похоже, компания прислушалась к отзывам: в одном из её новых патентов появилось описание более «живучего» фирменного аксессуара.

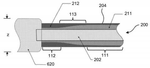
В базе данных Ведомства США по патентам и товарным знакам появилась патентная документация Apple с описанием нового кабеля. Судя по его содержанию, при его разработке бренд учёл ключевые недостатки оригинального решения. Приняв во внимание тот факт, что утолщение кабеля усложняет его подключение к устройствам в чехлах, Apple сделала акцент на плотности и жёсткости оплётки.
Отдельный пункт документа посвящён узлу соединения кабеля со штекером. В этом месте чаще всего образуются изломы, что может привести к поломке изделия. Поэтому компания предусмотрела специальную гильзу на краях кабеля, которая не допускает изгибов, но и не утолщает его.

Примечательно, что в патенте не упоминается термин Lightning — это может оказаться намёком на отказ от использования фирменного порта в новых устройствах. Кроме того, по слухам, в одном из следующих поколений iPhone может быть представлен и вовсе без разъёма для проводной зарядки или с гнездом USB Type-C. Представители Apple появление патента в открытом доступе не прокомментировали.