Apple придумала выдвижные ножки для MacBook Pro, которые улучшат охлаждение
Многие пользователи ноутбуков не понаслышке знакомы с различными подставками, позволяющими улучшить охлаждение или повысить удобство набора текста благодаря изменению угла наклона клавиатуры. Новая разработка Apple безусловно порадует поклонников таких аксессуаров.
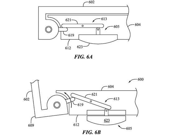
Новая патентная заявка компании описывает выдвижные ножки для MacBook, которые позволят поднять заднюю часть корпуса ноутбука. Опоры смогут выдвигаться на 3,8 миллиметра, что поможет значительно улучшить доступ свежего воздуха к нижней крышке устройства. Рисунки в патентной заявке демонстрируют механизм, благодаря которому ножки выдвигаются автоматически при открытии дисплея. Также предусматривается возможность открыть их вручную.

Кроме того, в патентной заявке рассматривается не только вариант с выдвижными ножками, но и возможность реализации выдвижного блока с вентиляционными решётками на нижней крышке. При его открытии частота процессора сможет автоматически повышаться благодаря дополнительному притоку прохладного воздуха, необходимого для эффективного охлаждения. Дополнительное преимущество конструкции с выдвижными ножками или блоком с вентиляционными решётками может заключаться в возможности открыть верхнюю крышку на больший угол.

Отметим, что описанные возможности в данный момент существуют только в виде патента, и нет никаких гарантий, что Apple реализует какой-либо из описанных механизмов в конечном продукте.