Apple научит iPhone заряжать другие устройства через экран
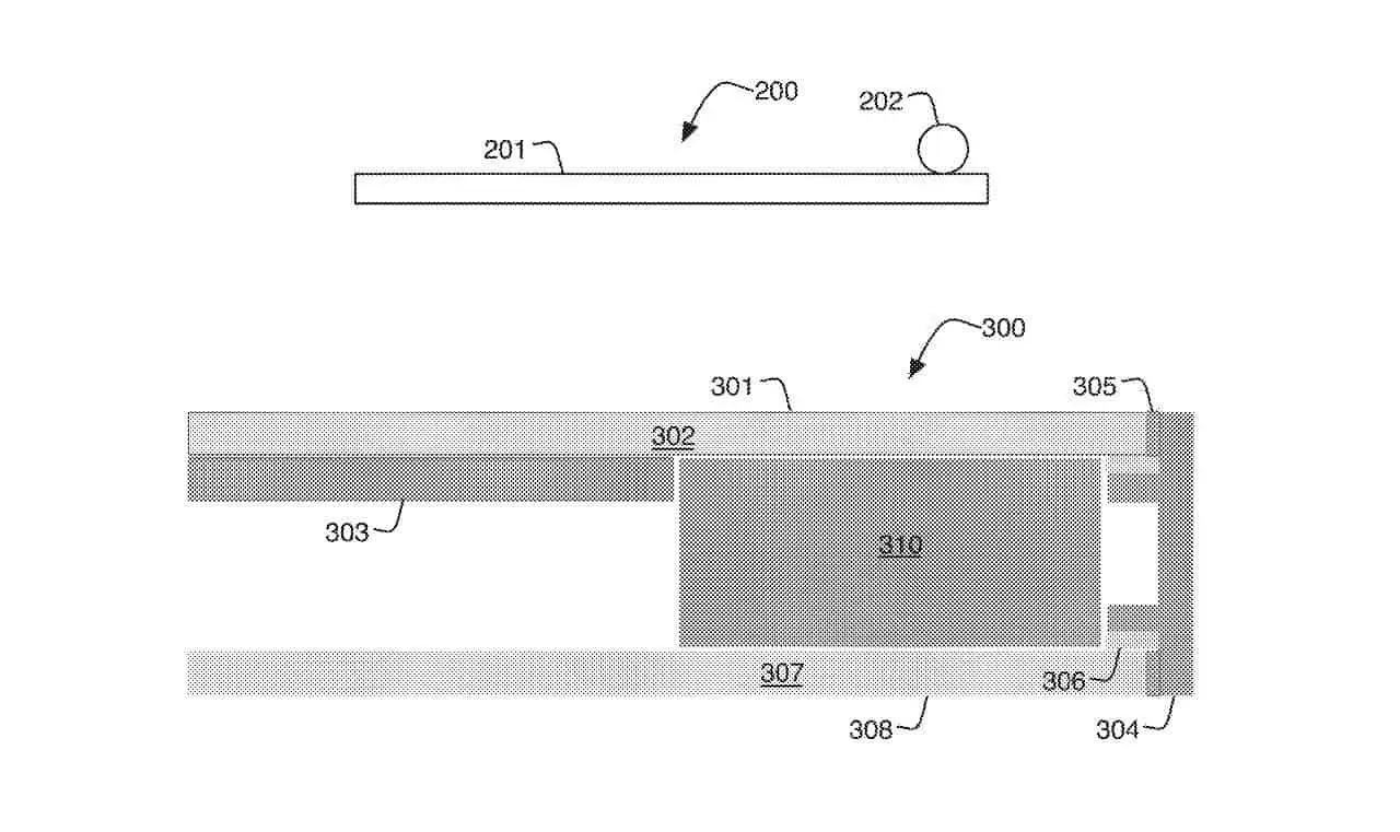
Зарядить Apple Pencil, просто поместив его на экран iPhone? Похоже, именно к этому стремится Apple. В сети обнаружили патент компании, описывающий систему, которая позволит iPhone или iPad заряжать другие устройства через экран.
Таким образом, Apple расширит возможности обратной зарядки. Сейчас для этого устройства нужно класть на заднюю панель гаджета.
При этом в патенте есть странная идея: в нём сказано, что та часть экрана, которая будет предназначена для зарядки, не будет работать как дисплей. Кому это может быть полезно в таком виде — неясно.

Впрочем, возможно инженеры Apple ещё найдут лучшее решение. Тогда такая обратная беспроводная зарядка могла бы быть полезна для владельцев Apple Watch, AirPods или Apple Pencil.