Apple хочет знать все о вашем сне
Apple подала патентную заявку на пьезоэлектрические сенсоры, которые будут отслеживать множество параметров человека во время его сна. В прошлом году купертинцы приобрели Beddit, которая выпускает постельные устройства с датчиками, и новый патент выглядит как развитие идей компании.
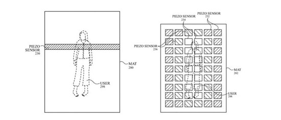
Идея Apple заключается в накоплении физиологических данных: фазы сна, как часто человек двигается и так далее. Одно из решений описывается как пояс, а другое представляет собой набор датчиков, распределенных по всей кровати.

Apple много внимания уделяет сфере здоровья. Например, смарт-часы могут распознавать нарушение ритма и другие проблемы с сердцем. Также компания продолжает развивать платформу «Здоровье», которая собирает подробную информацию о физической активности пользователя.