Apple готує геніальну розробку
У Apple з’явився патент на пасивний стілус, який не потрібно заряджати, хоча він працює майже так само, як вимагають заряджання. Вся справа в спеціальних технологіях, винайдених інженерами компанії.
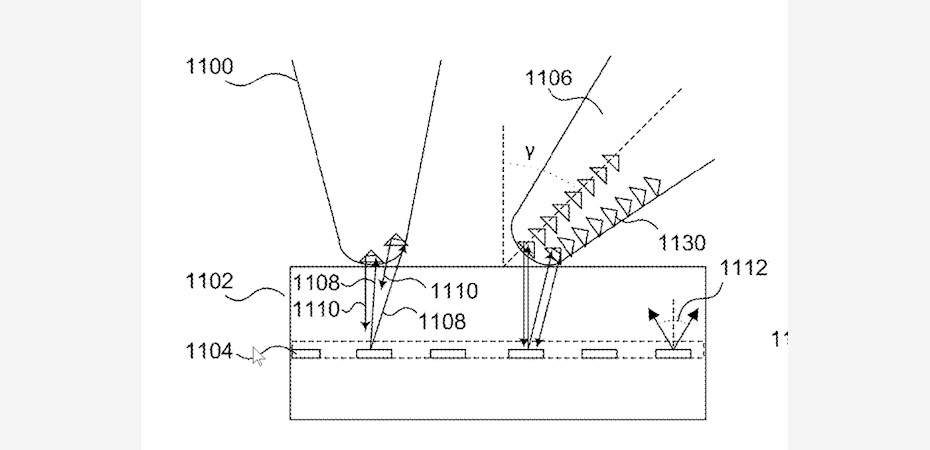
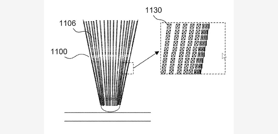
Як зазначено в патентній заявці, на кінчику стілусу будуть розташовані мікроскопічні відбивачі. Вбудовані в екран джерела світла та фотоприймачі можуть приймати відбите стилусом світло, а спеціальний контролер обчислюватиме положення, нахил і силу натискання. На ілюстраціях показані приклади використання стілусу з різними гаджетами Apple, включаючи смартфон, планшет, ноутбук із сенсорним екраном та смарт-годинник. Швидше за все, стилус буде несумісний із вже випущеними пристроями, оскільки в екрані мають бути додаткові сенсори.




Источник: itechua.com