Apple будет не первая, кто выпустит умное кольцо
Все мы привыкли, что Apple обычно задает тренды в мире высоких технологий. Эта компания либо изобретает что-то принципиально новое, либо подаёт «под новым соусом» хорошо забытое старое. А иногда уже существующие аналоги у конкурентов внутри Apple Campus часами переделываются лучшими инженерами и дизайнерами и на выходе мы имеем такие желанные премиальные продукты. Так когда-то при Стиве Джобсе Apple вновь изобрела смартфон, хотя на рынке и были решения от Nokia и BlackBerry. А при Тиме Куке она показала миру выдающиеся смарт часы, хотя также были аналоги от Pebble и Garmin. Практически 5 лет назад мы уже писали о том, что среди патентных заявок Apple была довольно необычная разработка - умное кольцо.
Предположительно оно должно было называться iRing и включать в себя массу биометрических датчиков, датчиков движения, оснащено виброоткликом и даже цифровым дисплеем. Очевидно у разработчиков была идея создать аксессуар по функциям аналогичный Apple Watch, но позволяющий вдобавок управлять всей экосистемой устройств умного дома прямо с пальца своего хозяина. Но реализацию идеи на протяжении столь длительного срока мы так и не увидели. Патент остался лишь патентом. Причин может быть масса. Видимо в Apple решили все-таки не спешить запускать конкурента в нишу, занятую Apple Watch, особенно учитывая возрастающие объемы продаж последних в 2018-2019 году.
А что более вероятно, так это то, что в нашей любимой компании просто не могут выпускать устройства, не соответствующие высоким стандартам Apple. Так уже было в случае с AirPower. Только ее в отличие от iRing все-таки анонсировали, а потом долго не могли реализовать, пытаясь побороть законы физики и в результате позорно похоронили. Тем временем умное кольцо вышло у конкурентов. Это Amazon Echo Loop, о котором стоит сказать пару слов.

У Amazon Echo Loop возможно скоро появится конкурент
Что умеет Amazon Echo Loop
«Умный» аксессуар от компании Джеффа Безоса представляет собой титановое кольцо, оснащенное двумя микрофонами, динамиком, кнопкой вызова голосового помощника Alexa и виброоткликом Haptic engine. Аксессуар водонепроницаем и устойчив к царапинам. Основными возможностями его являются:
-совершение телефонных звонков;
-включение музыки и манипуляция со списком воспроизведения;
-получение уведомлений;
-установка напоминаний;
-управление устройствами умного дома.
Взаимодействие пользователя с чудом носимой электроники осуществляется при помощи голосового помощника Alexa. При нажатии на кнопку, кольцо отвечает виброоткликом. Также вибрация сообщает о входящем уведомлении. Когда владелец подносит палец с кольцом к уху, Alexa озвучивает соответствующую информацию. Очень эффектно выглядит голосовое управление смарт лампочками, розетками и прочими приборами из умного дома. Но без смартфона аксессуар не работает, так как имеет только Bluetooth 5.0, но лишён Wi-Fi, соответственно самостоятельно подключиться к интернету не может.
Каким может стать Apple Ring
Казалось бы после выхода такого продукта Apple должна была окончательно похоронить свой аналог. Но во вторник 3 марта в сеть просочился очередной вполне заслуживающий нашего внимания патент, зарегистрированный в Управлении по патентам и товарным знакам США под названием «Expandable Ring Device», то есть «Устройство Расширяемое Кольцо». Авторами идеи являются Пол Ван (Paul X. Wang) и Динеш Мэтью (Dinesh C. Mathew).
Об этих изобретателях мы уже наслышаны из предыдущих патентов. Так, первому из них принадлежат дизайн iMac в формате сплошного стекла и внедрение тактильной обратной связи в Apple Pencil. Другому принадлежит идея разработки MacBook на солнечной батарее. Согласно рассматриваемого нами патенту, разработанное в компании Apple умное кольцо будет иметь особую расширяемую конструкцию, что позволит увеличить длину изделия, превращая его в трубку размером с палец, позволяя разместить больше сенсоров и датчиков, в отличие от привычного колечка фиксированного размера.
Теперь Apple собирается позиционировать новый аксессуар действительно как альтернативу Apple Watch, но в значительно меньшем корпусе, что позволит освободить запястье, и в тоже время еще и выполнять роль стильного украшения на пальце хозяина, подчеркивая его или ее индивидуальность. Проблема состоит в том, что в такой технически сложный гаджет маленького размера трудно втиснуть все компоненты и обеспечить точную работу датчиков на маленькой площади соприкосновения с кожей хозяина. Поэтому аксессуар может представлять собой основной корпус кольцевой формы с расширяемой частью, которая может проходить вдоль фаланги от основания пальца к кончику. Конструктивно расширение можно обеспечить за счет применения разных элементов, например, клапана с шарниром, вращающегося элемента корпуса или расширяемых вложенных сегментов корпуса.

Apple Ring может растягиваться на всю длину пальца
Расширяемая часть Apple Ring может включать в себя внутреннюю регулируемую раму с телескопическими ножками и крышку, что делает ее жестче и обеспечивает более надежное обнаружение воздействия прикосновения или усилия. Часть датчиков может быть включена в расширяемую часть, и использоваться только в растянутом состоянии кольца, тогда как другие датчики могут быть доступны как в растянутом, так и в сжатом состоянии.

Возможный внутренний механизм расширения кольца
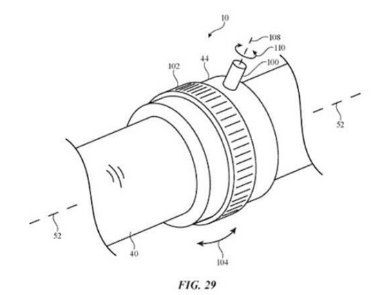
Согласно патенту, гаджет также оснащен вращающимися кнопками и другими органами управления на основной части корпуса.

У Apple Ring будут вращающиеся органы управления
Для чего нужен Apple Ring
Скорее всего смарт кольцо из Купертино будет функционировать в связке с iPhone так же, как сегодня это происходит с Apple Watch. Устройство может включать различные датчики, в том числе силы, ультразвуковые, оптические, касания, инерциальные измерительные блоки, и т.д., которые можно использовать для обработки двигательной моторики пользователя. Для тактильной обратной связи будет применяться уже знакомый нам виброотклик. Когда человек сгибает/разгибает палец или сжимает/разжимает кулак, датчики деформации на корпусе позволят кольцу определять, насколько далеко согнут палец.
Это даст возможность вводить те или иные команды жестами. Помните китайский электромобиль Byton? Там оптический сканер считывает жесты пальцев пользователя для взаимодействия с мультимедийным устройством. Apple может разработать массу своих сценариев для управления iPhone или даже другими устройствами из умного дома.
Не исключено, что Apple Ring будет использоваться и в дополненной реальности например для обнаружения движения пользователя, что подтверждается предыдущими патентами от ноября 2019 года.
Конечно не факт, что данное изобретение будет воплощено в жизнь. Справедливости ради стоит отметить, что Apple практически каждую неделю регистрирует те или иные патенты, в которых находит место масса интереснейших разработок, но очень многие из них так и остаются чертежами на бумаге или файлами на компьютерах своих авторов.