Американский провайдер запатентовал способ борьбы с файлообменом
Американский провайдер AT&T получил патент на изобретение, в котором описывается метод блокировки файлообмена в сети.
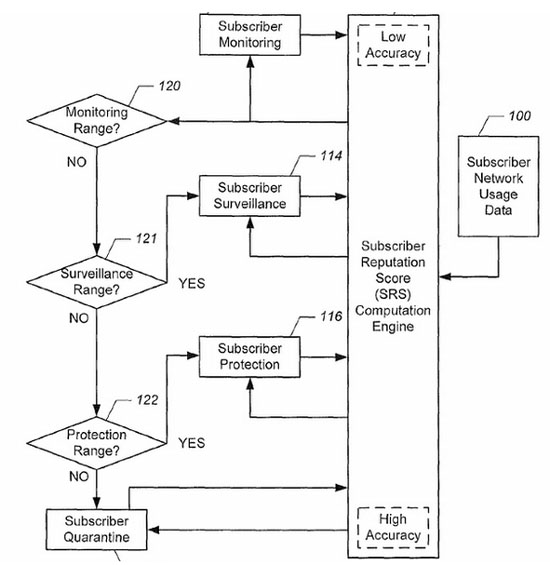
Пользователю на основе его действий присваивается определённый ранг риска — и после дополнительного наблюдения ему могут заблокировать доступ к файлообменным сайтам. Патент называется «Методы, устройства и программные продукты для регулирования сетевой активности с помощью системы ранжирования подписчиков».

В нём упоминается, что, хотя в интернете есть множество полезных пользователю ресурсов, доступ в Сеть многие используют также для незаконной деятельности:
«В этом случае многие пользователи могут не обладать достаточным количеством знаний, чтобы оградить себя от рисков в интернете самостоятельно. Таким образом, они часто становятся жертвами мошенников — например, хакеров. Пиратство в интернете может занимать большую часть пропускной способности канала, и это представляет проблему для поставщика услуг. Пока меры, предпринятые индустрией развлечений, не принесли плодов».
Как говорится в патенте, один файл, распространяемый по файлообменной сети, может стать серьёзной проблемой для пользователя и провайдера. Пользователи, которые замечены поставщиком услуг связи в активном файлообмене (или — реже — другой «рискованной» деятельности), будут помещены на карантин. В этом состоянии их доступ в Сеть будет ограничен.