Siri будет использовать советы Интернет-пользователей
Согласно опубликованным патентным заявкам, Apple изучает возможности использования полученной от пользователей Интернета информации в качестве дополнительной базы данных для виртуального помощника Siri. Такой ход может сделать рекомендации более точными и естественными, а также значительно расширить знания электронного ассистента.
В настоящее время Siri ищет необходимую информацию в Yahoo!, Bing и WolframAlpha, но данных, полученных через поисковые системы, бывает недостаточно, чтобы ответить на вопросы пользователя с учетом всех нюансов или в случае нестандартных вопросов.



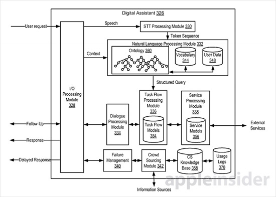
Компания из Купертино подала патентную заявку на цифрового помощника, использующего в своей работе внешние источники данных в виде сервисов вопросов и ответов, консультаций экспертов и обсуждений вопросов на форумах, который способен не только искать ответы на нужные вопросы, но и самостоятельно запрашивать информацию и сохранять полезные данные для последующих обращений.