Samsung работает над умными контактными линзами
Сегодняшняя публикация патентной заявки показала, что компания Samsung разрабатывает умные контактные линзы. Мы получили свежие схемы нового умного гаджета, релиз которого, вероятно, состоится еще не скоро.

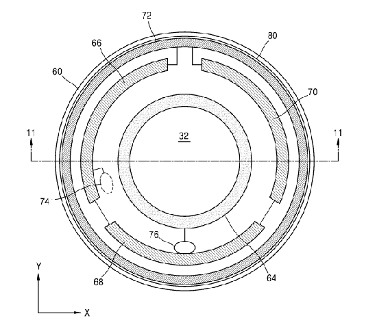
Схемы устройства показали, что оно оснащено крохотным дисплеем, камерой, антенной и несколькими датчиками движения. Умные контактные линзы, скорее всего, будут использовать моргание глаз пользователя в качестве основного способа ввода. Дисплей проецирует изображение непосредственно в глаз владельца, и внешнее устройство, то есть смартфон, очевидно, требуется для выполнения этого процесса.

Согласно этой заявке, основной причиной для разработки умных контактных линз является ограниченного качество изображения, которого можно достичь с умными очками.

Как нам известно, над подобным носимым устройством также работает и Google. Патентные заявки компании Samsung были заполнены в 2014 году, так что они готовят новый продукт достаточно долго.