Samsung придумал новый гибкий смартфон
Samsung разработала конструкцию смартфона с гибким дисплеем и корпусом. Значительная часть патентной заявки, в которой описано изобретение, посвящена тому, как избежать деформации дисплея и продлить срок его эксплуатации.
Гибкий дисплей и корпус
Корейская компания Samsung Display («дочка» Samsung Group, наряду с Samsung Electronics) подала в Бюро США по патентам и товарным знакам заявку на получение патента на метод отображения информации на гибких мобильных дисплеях. Заявка была зарегистрирована в апреле 2014 г. под №20150185787 и опубликована недавно.
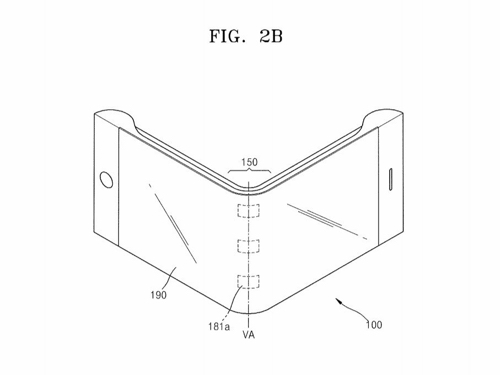
В заявке описано мобильное устройство, оснащенное гибким дисплеем, датчиком состояния дисплея (свернутое или развернутое состояние), таймером, определяющим прошедшее время с момента сгиба дисплея. Устройство имеет гибкий корпус способно сворачиваться на 180 градусов.
Проблема деформации
Основная проблема, говорят в Samsung, заключается в том, что при длительном сохранении свернутого состояния дисплей может деформироваться. Именно для этого компания предлагает предусмотреть в устройстве таймер, с помощью которого устройство сможет предупредить пользователя о необходимости развернуть дисплей. Предполагается, что таким образом можно будет продлить срок его эксплуатации.
Одним из основных преимуществ смартфона с гибким дисплеем является возможность защиты экрана от царапин и случайных повреждений. В свернутом состоянии он будет в безопасности от твердых предметов. Кроме того, в свернутом состоянии устройство будет занимать меньше места и легко помещаться в карман.
Интерес к гибким устройствам
Это далеко не первое свидетельство интереса Samsung к гибким гаджетам. В начале июля 2015 г. компания получила от Бюро США по патентам и товарным знакам патент на гибкий дисплей. Samsung запатентовала метод применения таких дисплеев в планшетах, причем независимо, какая технология в них используется — ЖК или OLED.

Описанное Samsung устройство оснащено гибким дисплеем
Устройство с сегментным корпусом
В марте 2015 г. Бюро США по патентам и товарным знакам опубликовало заявку Samsung на конструкцию гибкого смартфона, корпус которого состоит из нескольких сегментов, способных двигаться друг относительно друга. Описанное в заявке устройство напоминает сегментный металлический ремешок для наручных часов.

Доберется ли гибкий смартфон до потребительского рынка, неизвестно. Столь амбициозные планы были у Samsung еще в 2011 г., но пока не реализовались.

В закрытом состоянии дисплей защищен от механических повреждений

Пока неизвестно, доберется ли концепт до потребителей
Samsung Display — крупнейший в мире производитель панелей для различной электроники, включая мобильные телефоны, планшеты и телевизоры. Компания оснащает продукцией не только Samsung Electronics для линейки Galaxy, но и продает ее внешним заказчикам, включая компанию Apple, для установки в iPhone, iPad и другие устройства.