Samsung представит «убийцу» Apple Watch вместе с Galaxy Note 5
Samsung не намерена торопиться с выпуском конкурента Apple Watch. Компания старательно готовит модель премиум-класса Gear A, которая, согласно полученным данным, увидит свет осенью этого года.
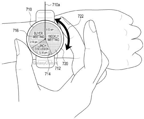
Часы под кодовым названием Orbis получат круглый дисплей и особую систему навигации. Источники сообщили, что экран устройства, работающего на операционной системе Tizen, будет наделен кольцом, которое следует вращать для управления ОС. К примеру, крутя его, пользователи смогут переключать иконки приложений на рабочем столе, а в режиме воспроизведения музыки – пролистывать треки. Также поворот кольца вправо или влево поможет либо отключить будильник, либо перевести его в режим «дремать».
О том, что Samsung готовит ответ фирменным часам Apple, сообщалось еще в прошлом году. Изображённый в одном из патентов компании гаджет внешне похож на Moto 360. Согласно имеющимся сведениям, производитель предложит две версии устройства — с поддержкой мобильных сетей и без. При этом обе будут поддерживать Bluetooth и Wi-Fi, а также систему беспроводной подзарядки.
Известно, что Orbis несет кнопку подачи питания с функциональностью, подобной таковой у цифровой коронки Digital Crown в Apple Watch. В интерпретации южнокорейской фирмы она получит ряд иных задач: запуск приложений, активацию голосового помощника S Voice, включение смарт-часов. Отмечается, что в создании устройства принимают участие бренды Cartier, Dior и Chanel.
Анонс Orbis с большой долей вероятности состоится одновременно с «планшетофоном» следующего поколения Galaxy Note 5 на выставке IFA, которая пройдёт с 4 по 9 сентября в Берлине.

Наблюдатели полагают, что Samsung, откладывая выпуск Gear A до осени, преследует несколько целей. Во-первых, у нее будет достаточно времени, чтобы подготовить достаточно качественный продукт. А во-вторых, к тому времени должна утихнуть шумиха вокруг часов Apple, которые поступили в продажу 24 апреля.