Microsoft запатентовала "умные" часы с фитнес-функциями
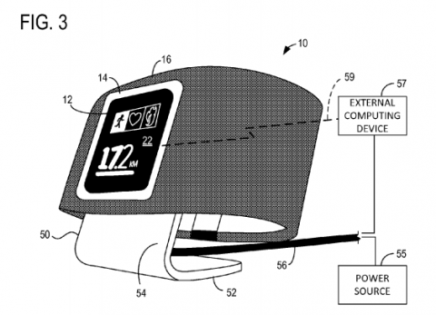
Бюро по регистрации патентов и торговых марок США опубликовало патентную заявку компании Microsoft, описывающую устройство, которое совмещает в себе "умные" часы и фитнес-трекер. Устройство напоминает недавно анонсированные часы Wellness Watch, совместимые со смартфонами под управлением Windows Phone. Патент №20140121539 описывает носимое устройство, которое легко извлекается из браслета для его установки в док-станцию. Аппарат будет обладать функциями фитнес-браслета, иметь датчик для измерения сердечного ритма и другие биометрические сенсоры.
![]()
Патент был подан в 2012 году, и в течение долгого времени ходили слухи, что Microsoft или Nokia выпустят "умные" часы под управлением Windows Phone. Однако, судя по схожести часов, описанных в патенте, и часов Sapphire Wellness Watch, можно предположить, что Microsoft уже продала лицензию на использование этого патента компании Wellograph. Но, учитывая, что рынок "умных" часов только начал развиваться, у этого патента может быть большое будущее.
