Microsoft улучшила ввод текста при помощи взгляда
Компания Microsoft продолжает экспериментировать с новыми способами взаимодействия c девайсами. Ранее Microsoft Research представила новые способы взаимодействия со смартфонами и планшетами, а теперь софтверный гигант патентует серьезно усовершенствованную технологию ввода текста при помощи взгляда.
Обычно для набора текста приходится касаться определенной поверхности, будь то сенсорный экран с выведенной на него клавиатурой или физические клавиши. Однако не всегда бывает удобно использовать руки для ввода текста. Например, во времена засилья огромных экранов в смартфонах, которые уже все чаще достигают отметки в 6 дюймов, а 5-дюймовые аппараты стали нормой, такая функциональность будет очень кстати для возможности ответить на сообщение на ходу, когда свободна только одна рука.

Существующие техники ввода текста при помощи взгляда включают необходимость пользователя фиксироваться на клавише, которая должна быть нажата, достаточно продолжительное время, так как системе необходимо обработать направление взгляда и определить предполагаемую букву одну за другой. Обычно это приводит к очень продолжительному набору текста.
Microsoft предлагает использовать систему, отдаленно напоминающую таковую в клавиатуре Swype. Принципиальная разница по сравнению с уже существующими решениями заключается в том, что человек «проходит» по клавиатуре взглядом, а система запоминает весь порядок движения глаз. После того как процесс ввода окончен, система анализирует комплексно весь «путь» глаз и на основании словаря подбирает наиболее возможные варианты. При этом система анализирует не только сам путь, но и все буквы по отдельности, что позволяет корректировать ошибки ввода. Система предполагает ввод не только по одному слову, но и целых фраз, что позитивно скажется на скорости ввода текста таким образом. К тому же система позволяет выводить несколько слов, среди которых также можно будет потом выбрать нужное.
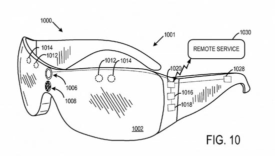
Высокочувствительные сенсоры могут быть встроены как в само устройство ввода — экран телевизора, смартфона, планшета, — так и быть интегрированными, например, в очки. Также возможно использование комбинации сенсоров, что позволит повысить точность ввода и скорость анализа. Сами очки могут выступать устройством ввода за счет проекции клавиатуры на линзы.

Такой метод ввода сложно назвать идеальным, однако сам подход позволит вводить текст не только на больших девайсах, но и на компактных гаджетах, с которыми сейчас используется взаимодействие голосом, например, умных очках или смарт-часах. Однако данная технология, в отличие от произношения вслух желаемого текста, не будет привлекать лишнее внимание окружающих. Также это может упростить ввод текста для людей с ограниченными способностями. Но не стоит забывать, что данный патент может не скоро быть реализован в коммерческих устройствах, так как далеко не все запатентованные технологии воплощаются в конечных продуктах.