Microsoft патентует жесты для управления смартфоном в автомобиле
Несколько дней назад в Ведомство по патентам и товарным знакам США была подана заявка (все авторы — сотрудники подразделения Microsoft Research)"INTERACTING WITH A MOBILE DEVICE WITHIN A VEHICLE USING GESTURES ", смысл которой заключается в получении патента на систему жестов, с помощью которых возможно управлять мобильным устройством, находясь в автомобиле. Интересно, что речь, насколько можно понять, идёт действительно о смартфоне, а не о Kinect-подобном устройстве как таковом.Прецедентов коммерческого использования патента в реальных автомобилях пока нет.

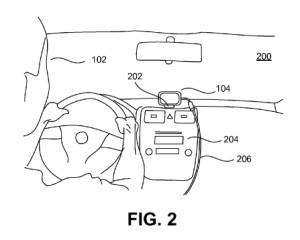
Конструктивно система определения жестов выглядит таким образом — на торпедо укреплено мобильное устройство камерой к водителю:

В итоге, оказывается возможным отдавать команды смарфтону примерно таким образом, как указано на картинке в заголовке поста. Например, для подтверждения некоторого действия водителю достаточно показать большой палец смартфону, для уменьшения громкости — поднести палец к губам («тссс!»), а для того, чтобы сделать трек погромче — поднести ладонь к уху, как это делают пожилые люди, когда не слышат что-либо. Для совершения звонка достаточно сымитировать жест поднесения воображаемого телефона к уху.
Нетрудно заметить, что все жесты естественные и изучать их каким-то образом нет необходимости. При этом система голосового управления также подразумевается как имеющаяся в автомобиле, и, вероятно, предполагается их работа в симбиозе.