Google запатентовала смартфон c восемью вспышками
Компания Google в заявке, поданной в Патентное ведомство США (USPTO), предложила оснащать смартфоны со встроенными камерами не одной, а несколькими фотовспышками, сообщает Unwired View.
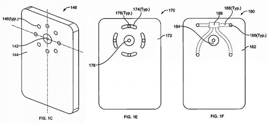
Расположение вспышек (светодиодов) на корпусе смартфона может быть разным, следует из приложенных к заявке иллюстраций. На одной из картинок восемь светодиодов образуют «кольцо» вокруг объектива камеры. На другой картинке изображена конструкция с передвижными вспышками — пользователь может вручную изменять местоположение источников света.

Иллюстрации из патентной заявки Google
Изображение с сайта Патентного ведомства США
Вспышки способны работать в различных режимах. Они могут включаться все вместе и одновременно, создавая интенсивный свет. Если снимаемая сцена не требует яркого освещения, могут быть задействованы отдельные светодиоды. Наконец, пользователь сможет сделать несколько снимков одной и той же сцены, включая разные лампы, а затем совместить полученные изображения в одно.
Заявку, в которой описывается смартфон с несколькими вспышками, Google подала в Патентное ведомство в сентябре 2011 года, а соответствующий патент получила 29 января 2013 года. Отметим, что разработки, описанные компаниями в патентах, не всегда находят воплощение в реальной жизни.