Google патентует технологию отслеживания взгляда

Google патентует технологию отслеживания взгляда

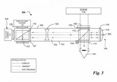
Несколько месяцев назад компания Google объявила о том, что планирует полностью переделать Google Glass, а возглавит рабочую группу над этим проектом Тони Фаделл. Пока неизвестно, как и чем будет отличаться следующее поколение Google Glass от версии, существующей сегодня, однако не так давно стало известно, что Google подала патентную заявку на технологию, отслеживающую движения глаз. И вполне возможно, что компания будет использовать эту технологию в следующем поколении смарт-очков. По данным корпорации, полностью обновлённая версия Google Glass должна быть представлена до конца текущего года.

В патенте описывается технология отслеживания движений глаз, которая теоретически может быть использована в Google Glass. Однако, как и в случае со многими патентами компании, сейчас сложно сказать, действительно ли компания планирует воплотить задумку в реальность или просто пытается защитить свою интеллектуальную собственность.

Если данная технология будет использована в следующем поколении Google Glass, пользователь сможет идти по улице, разглядывая различные объекты, встречающиеся на пути, например, вывеску с названием ресторана, а технология, отследив, на что именно обращён взгляд пользователя, выдаст ему дополнительную информацию об объекте. Также технология может найти применение внутри магазинов, где пользователь, посмотрев на определённый товар, получит больше информации о нём, в том числе и о том, где такой продукт можно купить дешевле.

Источник: 4pda.ru