Google патентует “Интернет на воздушном шаре” – нашумевшую систему Loon
Интернет-гигант решил запатентовать идею своего амбициозного проекта Loon. Google подала заявку в патентное бюро 14 ноября. Компания хочет зарегистрировать права на «группы воздушных шаров, обеспечивающих пропускную способность по предварительному запросу, охватывающие проектное изменение спроса на доступ в Сеть, позиционирование шаров в нужном положении и их использование для обеспечения доступа».

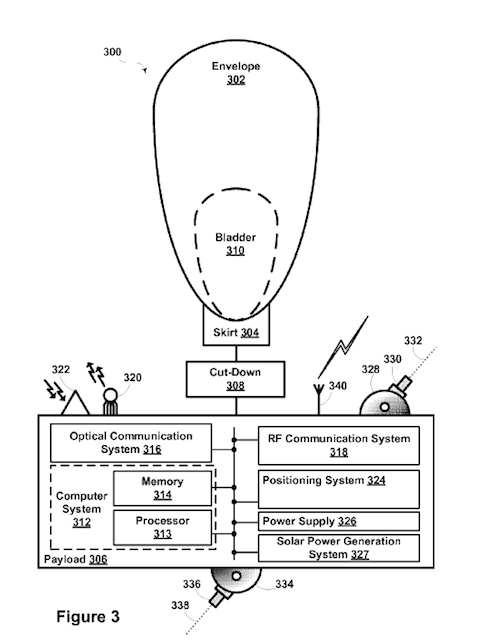
Из патентной заявки в общих чертах становится понятно, каким образом Google хочет реализовать свою идею. Интернет-гигант в проекте Loon будет использовать солнечную энергию, продвинутую систему позиционирования, радио- и оптическую связь для связи с землей, собственно сами шары и компьютерную систему, установленную на каждом шаре и управляющую им автономно.
Как сообщалось ранее, сами шары смогут летать примерно три месяца. После этого Google планирует приземлять стратостат в удобном для себя месте и демонтировать оборудование для обслуживания и установки на другой шар.
Сейчас многие считают, что Googel будет использовать в проекте Loon стандарт Wi-Fi. Однако сам интернет-гигант заявил, что это будет некий специальный стандарт радиосвязи в диапазоне ISM. Пока Google позиционирует Loon как сеть для каких-то особых событий — массовых мероприятий или зонах природных катастроф, а также в тех местах, где Интернета нет вообще. Однако не исключено, что в будущем компания изменит данную концепцию и начнет коммерческое использование своей Сети, предоставляя Интернет всем желающим на всей планете и даже на ближайшей орбите.