Google копирует иллюстрации из патентов Apple
Некоторые конкуренты копируют Apple во всем, где только могут, при этом не переставая повторять, что именно они являются настоящими изобретателями и новаторами. Такими жесткими словами характеризуют действия компании Google авторы сайта Patently Apple, обнаружившие в одной из последних патентных заявок Google откровенную копию рисунка из более ранней заявки купертиновцев.
Судите сами. Это рисунок из заявки Google, опубликованной 18 июля 2013 года:
.jpg)
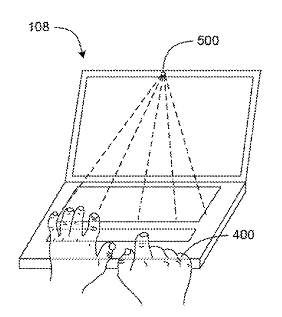
А этот — из заявки Apple от 17 января 2012 года:

Схематическое изображение ноутбука в обоих документах практически идентично. Особенно бросается в глаза полное совпадение в изображении рук. Впрочем, справедливости ради надо отметить, что, если присмотреться, одно отличие все-таки можно обнаружить: у Google место расположения камеры обозначено круглым отверстием, а у Apple — в виде прямоугольника.