Google Glass будут работать от батареек
Идёт уже второй год безмолвной работы инженеров Google над новой версией очков Google Glass. Ранее было объявлено, что на рынке дебютирует только версия очков для профессионального использования, тогда как выход потребительской модели была отложена из-за ряда недочётов, среди которых - время автономной работы. Google Glass потенциально предлагают множество функций, однако многие из них практически не применимы в обычной жизни из-за быстрой разрядки аккумулятора, особенно когда речь идёт о трансляции видео в Интернет. Новый патент описывает ряд изменений будущих очков, одно из которых заключается в подпитке очков от батареек формата ААА.
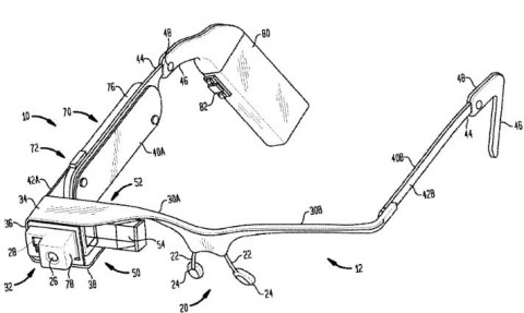
Согласно документу, очки предлагается снабдить слотом (элемент 80 на схеме ниже) для батареек АА, ААА или 9-вольтовых элементов питания (типа "Крона"). Это могут быть одноразовые элементы или сменные/несменные литий-ионные или никель-кадмиевые аккумуляторы. В последнем случае предлагается перезаряжать их с помощью отдельного порта (элемент 82) на корпусе очков.

В теории это должно решить проблему неудобной перезарядки очков путём быстрой смены элементов питания. Кроме того, расположенные на дистальном конце правой дужки батарейки уравновесят Google Glass и сделают баланс очков более выраженным. Прошлые версии чересчур сильно давили на переносицу некоторым владельцам из-за тяжёлого модуля камеры и сенсорной панели возле правого виска, что доставляло дискомфорт при ношении. К сожалению, дата анонса или релиза нового поколения Glass по-прежнему не называется.