Asetek предупредила AMD и GIGABYTE о возможном нарушении патента
Дефицит графических карт AMD Radeon R9 Fury X остался в прошлом, да и другие производители начинают активнее применять жидкостное охлаждение своих продуктов. Но неожиданно возник нюанс, который может существенно осложнить жизнь компаниям-производителям и вызвать затруднения с продажами Radeon R9 Fury X и карт GIGABYTE серии WaterForce. Компания Asetek предприняла попытку обвинить AMD и GIGABYTE в нарушении патентных прав. Ранее, в 2014 году, Asetek уже судилась с рядом производителей систем жидкостного охлаждения, включая Cooler Master, CoolIt и AVC по поводу патента на конструкцию помпы СЖО, совмещённой с водоблоком.

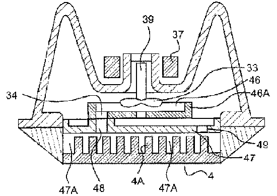
Суть запатентованного Asetek решения довольно проста и очевидна
Суть запатентованной Asetek конструкции хорошо видна на вышеприведённом чертеже. Иск тот Asetek выиграла, добившись отчисления 14,5 % в свою пользу с продаж таких СЖО Cooler Master, как Seidon 120V, 120V Plus, 120M, 120XL, 240M, Nepton 140XL, 280L и Glacer 240L, то есть практически со всего ассортимента жидкостных систем охлаждения, производимых Cooler Master. Но и это не удовлетворило аппетиты Asetek: процент отчислений с производства СЖО Cooler Master в январе 2015 года вырос до 25,375 %, когда апелляция, поданная CMI USA, Inc, не сработала. Суд отклонил требования компании, запретив продажу ряда решений Cooler Master на территории США и ещё более увеличил сумму отчислений в пользу Asetek.

Первый претендент на нарушение патентного права
Всё это было бы ещё одним эпизодом юридической борьбы, постоянно ведущейся между производителями аппаратного обеспечения, если бы не одно «но» — именно Cooler Master поставляет интегральные системы охлаждения для флагманских графических карт AMD Radeon R9 Fury X. Аналогичную конструкцию (Seidon 120M) использует GIGABYTE в серии WaterForce. На данный момент Asetek требует прекращения продаж вышеупомянутых продуктов AMD и GIGABYTE, поскольку используемая в них СЖО находится в вышеприведённом утверждённом в судебном порядке списке решений, по мнению Asetek, нарушающих её патенты на конструкцию интегральных помп СЖО.

И второй...
В официальном предупреждении говорится как минимум о двух моделях GeForce — GV-N980WAOC-4GD и GV-N98TXTREME W-6GD, которая также будет проанализирована на предмет нарушения патентного права юристами компании. Asetek настаивает на том, что никаких договоров лицензирования с Cooler Master на данный момент она не имеет и заключение таковых не планирует. Изначально считалось, что поставщиком СЖО для Radeon R9 Fury X будет именно Asetek, поскольку ранее она выиграла контракт на поставку систем охлаждения для Radeon R9 295X2. Ранние образцы Fury X действительно тестировались с помпами Asetek, но незадолго до официального выпуска СЖО Asetek была заменена на решение Cooler Master. Как ситуация будет развиваться дальше, пока не известно. Не исключено, что Asetek хочет путём судебных угроз перехватить контракт на поставки СЖО для AMD Radeon R9 Fury X. Не исключено, что это касается и решений GIGABYTE. Официальных комментариев со стороны компаний-производителей упомянутых графических карт пока не поступало.