Apple запатентовала способ удаления влаги из iPhone с помощью электрических разрядов
Бюро патентов и торговых марок США обнародовало патентную заявку Apple, которая описывает новую технологию защиты портативных устройств от влаги. Запатентованный компанией способ подразумевает удаление жидкостей из технологических отверстий iPhone и iPad при помощи электрических разрядов.
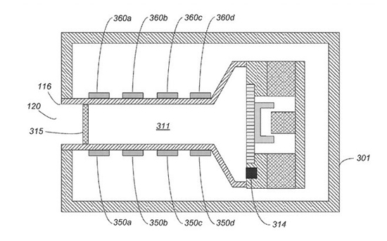
Патент получил название «Удаление жидкостей из отверстий» (Liquid expulsion from an orifice). В ней описывается метод, с помощью которого можно избавиться от воды или любой другой жидкости из различных полостей мобильных устройств. Идея заключается в наделении гидрофобными свойствами элементов в пределах акустических отверстий (динамиков или микрофонов) путем изменения проводимого электрического разряда.
На сегодняшний день Apple оснащает такие полости тонкой сеткой, которая препятствует попаданию посторонних предметов и влаги. Однако вода может попасть внутрь при условии давления воды или при погружении гаджета на глубину. Кроме того, там может накапливаться конденсат, в зависимости от уровня влажности или изменений температуры, что плохо сказывается на чувствительных компонентах электроники.

В некоторых вариантах реализации этой технологии предполагаются варианты размещения датчиков наличия влаги внутри акустических модулей. При другом способе подразумевается анализ тона издаваемого звука и воздействие импульсами.
Если определено, что жидкость попала в акустический модуль, то к проводящим электричество элементам применяется разряд. Компоненты сконфигурированы так, чтобы соответствовать форме акустического резонатора. Apple отмечает, что проводящие элементы покрыты защитным слоем диэлектрического материала.
Применение разряда в разных точках будет способствовать выводу накопленной влаги к отверстию в корпусе. Процесс может ускорить отдельная проводящая электричество поверхность, применяемая в качестве защитной сетки.

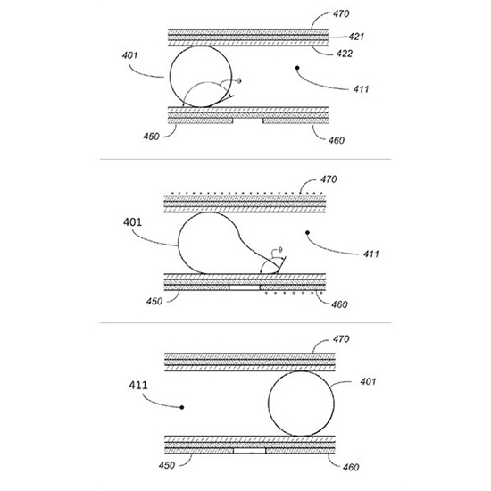
Наконец, данная технология Apple предусматривает возможность избавиться от влаги, попавшей внутрь iPhone с помощью звуковых волн и импульсов, распространяющихся по акустическим каналам и выталкивающих жидкость.
Неизвестно, планирует ли Apple внедрить технологию в ближайшее время, но уже в нынешних продуктах компания реализовала пассивные меры гидроизоляции. Так, iPhone 6s оснащен силиконовой прокладкой по периметру корпуса, а Apple Watch может похвастаться наличием защиты от воды и пыли, соответствующей стандарту IPX7.
Последние слухи дают основания предполагать, что в Apple не исключают возможность выпуска водонепроницаемого iPhone. Заявка на данный патент была подана компанией в мае 2014 года.