Apple запатентовала сгибаемый iPhone
На этой неделе Apple получила подтверждение о регистрации еще одного патента. Разработка весьма любопытная, так как она описывает технологию, позволяющую создавать сгибаемый смартфон. Заявка на данный патент была зарегистрирована в Бюро патентов и торговых марок США в конце августа этого года, но известно о нем стало только сейчас.
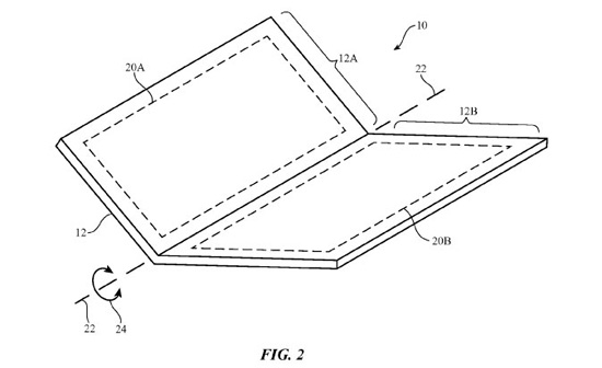
Согласно патенту Apple, iPhone или другой мобильный гаджет можно складывать пополам без каких-либо последствий для электронной «начинки». Чтобы сгибать смартфон или планшет без повреждений, его необходимо оснастить двумя панелями, каждая из которых может играть роль дисплея.
На иллюстрациях к патенту показан складываемый пополам смартфон, оснащённый OLED-экраном. Такой аппарат можно носить как записную книжку и использовать его при раскрытии.

Выпуск устройства в новом форм-факторе может стать новым импульсом для рынка смартфонов, который в последнее время демонстрирует замедление роста. В патенте Apple отмечается, что складной смартфон рассматривается производителем в качестве полноценного представителя следующего поколения устройств.

Ранее компания Samsung не раз заявляла о планах представить первое полностью складное устройство в начале 2016 года. Однако позже представители южнокорейской прессы заявили, что анонс складного смартфона состоится в конце следующего года, а начало продаж только в начале 2018 года.