Apple запатентовала наушники, различающие людей
Как сказано в новом патенте, Apple изобрела необычный кабель для наушников. Внутри проводов могут находиться сразу несколько сенсоров, определяющих количество человек, одновременно слушающих звук с одного устройства.
Подобная система распознавания людей позволила бы передавать на каждый наушник свой звуковой сигнал. В обычных условиях это не слишком полезная функция, но вместе с другим патентом такая возможность выглядит вполне интересно. Не так давно Apple запатентовала 3D-технологию для дисплеев, позволяющую транслировать различающиеся изображения людям, смотрящим на экран под разными углами. Подобная технология уже была в телевизорах Sony, но так и не получила широкого распространения.
Вместе с разделенными наушниками на подобном дисплее можно было бы смотреть сразу два видео, играть в многопользовательском режиме на одном устройстве и так далее.

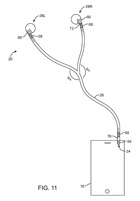
Реализовывать распознавание людей инженеры Apple хотели достаточно простым способом. По их мнению, если наушники находятся слишком далеко друг от друга, скорее всего, их используют два разных человека. Для измерения расстояния в кабель достаточно было бы поместить небольшой сенсор, замеряющий угол между двумя расходящимися проводками. Более подробные описания такого сенсора включают в себя замеры при помощи электромагнитов, лазеров и других не самых привычных для наушников элементов.

Несмотря на то, что патент был опубликован только сейчас, разработали технологию еще в 2012 году. Учитывая это, можно предположить, что в ближайшее время дополнять свои наушники чем-то подобным Apple не собирается. Ведь относительно недавно миру были представлены новые EarPods, тогда как идея разделенных наушников существовала в Apple уже давно.