Apple запатентовала гибкий дисплей с тактильной обратной связью для Apple Watch и iPhone
Бюро патентов и торговых марок США выдало Apple патент на технологию интеграции гибких дисплейных панелей в смартфоны, планшеты, плееры и «умные» часы. Документ предусматривает использование в мобильных устройствах дисплеев с тактильной обратной связью.
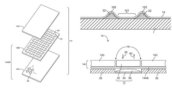
Согласно описанию технологии, экраны будут иметь особую структуру, позволяющую имитировать кнопки и другие виртуальные объекты. Структурные элементы могут быть как статично закреплены, так и реагировать на силу нажатия. Чувствительный к давлению дисплей первыми получили «умные» часы Apple iWatch. Если дебют технологии сложится успешно, она, вероятно, найдет применение и в других продуктах калифорнийского гиганта и предложит новые варианты развития сенсорных компьютерных технологий.
Запатентованная технология предусматривает также возможность размещения некоторых электронных компонентов, в частности динамика и микрофона, непосредственно под экраном. В этом случае дисплейная панель будет служить для проводимости сигнала.

Наиболее вероятным применение гибких дисплеев с тактильной обратной связью видится в будущем поколении часов Apple Watch. Хотя не исключено, что Apple реализует задуманное и в одной из следующих моделей iPhone и iPad.
О сроках практической реализации описанной в патенте технологии традиционно не сообщается.