Apple запатентовала герметичные наушники для iPhone, заполненные гелием
Конструкция новых наушников Apple предусматривает заполнение капсуля гелием, что способствует улучшению качества звучания, свидетельствует патентная заявка компании, выданная на этой неделе Бюро патентов и торговых марок США.
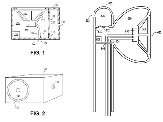
Патент под номером 8,767,994 описывает дизайн фирменных наушников Apple. Уникальной особенностью акустического устройства является герметичная конструкция корпуса с динамической головкой. Внутрь капсуля закачивается гелий, либо газовая смесь, обладающая преимуществами по сравнению с обычным воздухом. Такой прием обещает повысить качество звука гарнитуры.
Плотность гелия в несколько раз меньше, чем у воздуха, а скорость распространения звуковых волн в гелиевой среде выше скорости звука почти в три раза. В результате «гелиевый подвес» будет обеспечивать равномерность давления на внутреннюю поверхность динамической головки в широком частотном диапазоне, говорится в описании патента. Таким образом диффузор будет совершать работу по перемещению воздушных масс лишь за пределами капсюля.

Попытка Apple улучшить звучание фирменной гарнитуры для iPhone и iPad – не первая за последнее время. В начале июня компания представила обновлённую спецификацию для коннектора Lightning, позволяющую выпускать наушники, подключаемые через Lightning-разъем. В ближайших планах Apple вряд ли значится отказ от классического аудиоразъёма в своих мобильных устройствах, однако описанное решение сможет уже сейчас предоставить пользователям не просто альтернативу, а абсолютно новые возможности и переход на следующий качественный уровень.
Lightning-подключение обеспечивает более высокое качество звучания. Производителям наушников станет доступной передача цифрового аудиоконтента с частотой дискретизации 48 кГц, а также управление некоторыми параметрами гарнитуры, в том числе системой шумоподавления с помощью мобильных приложений.