Apple запатентовала «умный» стилус со встроенным акселерометром и датчиком света
Стив Джобс в свое время говорил, что стилус для планшета или смартфона — это признак провала. По мнению изобретателя iPhone, цифровые «перья» безнадежно устарели, и современным технологиям следует отдавать предпочтение прикосновению пальцев. «Бог дал нам десять стилусов — давайте не будем изобретать еще один», — говорил он. Тем не менее Apple на этой неделе получила новый патент на электронное перо.
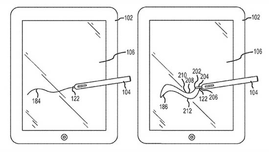
Бюро патентов и торговых марок США опубликовало новую заявку американской корпорации, которая описывает «умный» стилус. Согласно документу, устройство способно рисовать линии различной ширины и формы с помощью специального выдвижного «пера», которое взаимодействует с сенсорным дисплеем смартфона или планшета.

По замыслу компании, датчик будет определять положение стилуса относительно экрана, позволяя в зависимости от этого динамически менять некоторые параметры дисплея. В частности, при определённом нажатии на стилус меняется толщина и цвет проводимой по экрану линии.
Устройство может быть оснащено акселерометром, гироскопом и другими датчиками движения, говорится в заявке. Стилус также получит сенсор освещения. Это позволит выполнять различные действия, например калибровать цвета экрана и сканировать оттенки из реального мира.

Планирует ли Apple выпускать подобное устройство, официально пока не сообщается. Поскольку не перестают циркулировать слухи о готовящемся выпуске iPhone и iPad с большим экраном, стилус может найти применение именно в них. С другой стороны, компания часто получает патенты на технологии, которые так и не находят реализации в коммерческих продуктах.