Apple запатентовала «невидимые» разъемы для мобильных устройств
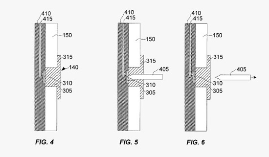
Бюро патентов и торговых марок США обнародовало новую патентную заявку Apple на уникальные интерфейсные разъемы. Документ под названием «Электронное устройство со скрытым коннектором» описывает разъемы, прикрытые самовосстанавливающимся эластомером.
По замыслу разработчиков, эластомер скрывает разъем от пользователя и защищает его и внутренние компоненты электронного прибора от воздействия внешней среды. Для нормальной работы гаджета при подключении кабелей и аксессуаров эластомер в портах деформируется, а затем восстанавливает свою первоначальную форму и размер внутри порта, как только штекер кабеля будет извлечен.
Штырьки внешнего разъема могут временно пронзать эластомер, чтобы обеспечить контакт с разъемом устройства. После того, как внешний разъем извлечен, форма и целостность покрытия восстанавливаются за счет свойств эластомера.

Данный синтетический материал способен защитить разъемы от нежелательного воздействия внешних факторов. К тому же пользователям не придётся беспокоиться о том, что такая заглушка потеряется — после деформации она автоматически встанет на прежнее место.

Понятно, что не все технические решения находят применение в продуктах Apple, но, учитывая уже сделанные шаги по улучшению водостойкости iPhone, мы можем с большей вероятностью ожидать реализацию этой технологии в следующем поколении устройств.