Apple запатентовала «механические жалюзи» для защиты микрофонов и динамиков iPhone
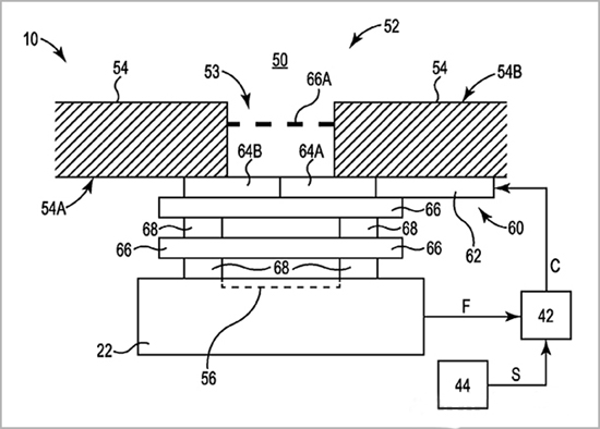
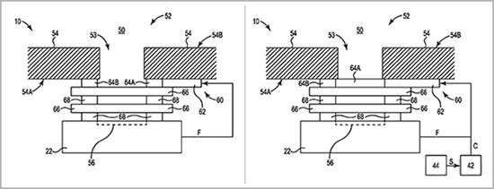
Новая заявка, поданная в Бюро патентов и торговых марок США, описывает «бронедверки», которыми инженеры компании намерены прикрыть наиболее уязвимые внешние модули своих гаджетов. В первую очередь – микрофоны и динамики iPhone, причем речь идет о принципиально новой разработке, специально сконструированной под формат компактных смартфонов.
Тенденция нового времени – становясь все более сложными и дорогими, элементы начинки аппаратов теряют в прочности и долговечности. Проволочные сеточки и кусочки мягкой обивки остались в прошлом веке, сегодняшние проблемы на порядок изощренней, чтобы решать их подобными методами. Например, акустический удар, явление, при котором в непосредственной близости от тщедушного тельца смартфона генерируется звуковая волна с весьма высокими амплитудно-частотными характеристиками. Для проверки можно включить iPhone, стоя неподалеку от мощных динамиков в ночном клубе в тот момент, когда DJ решить «поиграть» с басами.
Более прозаическая причина защищать внешние выходы акустических компонентов – смартфоны частенько роняют в пыль и грязь, причем не только ради экспериментов. В последнем случае человек хотя бы предвидит, что произойдет в следующий момент, но в унитаз гаджет обычно проваливается под весьма искренний изумленный вопль владельца. Соответственно, в Apple озаботились разработкой активной системы реагирования на подобные угрозы, действующей в реальном времени. Опыт отслеживания начала падения смартфона в пропасть на основе резко изменившихся показаний акселерометра уже есть – новый механизм в таких случаях будет мгновенно закрывать микрофон и динамики iPhone металлическими шторками.

Необязательно полностью отгораживать их от внешнего мира, бывают ситуации, когда нужно лишь смягчить силу воздействия звуковой волны. Поэтому в патенте описана «умная» система, анализирующая количество децибел, поступающих снаружи, и сравнивающая его с пороговыми значениями в собственной памяти. Команда на закрытие бронированных мини-жалюзи подается механизму на основе соленоидов или микродвигателя с зубчатой передачей – в приложении к патентной заявке описаны оба способа.

Единственный спорный момент состоит в том, что не очень-то понятно, зачем яблочной компании подобные технологии. Если бы речь шла об экстрим-гаджетах, вроде тех же камер GoPro, вопрос отпал бы сам собой. Но по последним данным инженеры компании сосредоточили усилия на разработке инновационных акустических систем с интегрированными модулями шумоподавления, чтобы смартфоны и планшеты записывали чистый звук. Зачем таким сложная активная внешняя защита? В любом случае, рассчитывать на появление чего-то подобного в ожидаемых моделях смысла нет – какими бы крохотными не были эти механизмы, запихнуть их в переполненный корпус сверхтонкого iPhone мимоходом не получится.