Apple сделает разъемы iPhone «самозатягивающимися»

Apple сделает разъемы iPhone «самозатягивающимися»

Компания Apple, не смотря на отсутствие официальных заявлений, работает над увеличением уровня водостойкости своих устройств.
 
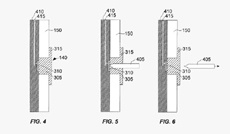
Согласно новой патентной заявке, компания разработала новый способ устранения возможности проникновения в устройство жидкости. Патент получил название «Электронное устройство со скрытым коннектором».

Его суть заключается в оснащении разъемов iPhone специальным веществом — эластомером. Для нормальной работы гаджета при подключении кабелей и аксессуаров эластомер в портах деформируется, а затем восстанавливает свою первоначальную форму и размер внутри порта, как только штекер кабеля будет извлечен.

Эластомер может применяться в одном или нескольких разъемах электронного устройства. Данный синтетический материал способен защитить разъемы от нежелательного воздействия внешних факторов. К тому же пользователям не придётся беспокоиться о том, что такая заглушка потеряется — после деформации она автоматически встанет на прежнее место.

Источник: ilenta.com