Apple разработала сверхкомпактный зум-объектив для нового поколения iPhone
iPhone для многих пользователей стал основным устройством для фотосъемки: качественная камера, быстрый сенсор, возможность за секунды отредактировать кадр и сразу же выложить его в Сеть удовлетворяют запросы большинства пользователей в вопросах фиксации важных моментов их жизни. Единственным недостатком камер можно считать отсутствие оптического зума, особенно в туристических поездках. Но и это скоро может измениться.
Apple придумала способ размещения в смартфонах зум-объектива, при котором изменение положения элементов при изменении фокусного расстояния будет происходить внутри компактного корпуса. Такое размещение не требует увеличения веса устройства, а также дополнительной толщины для самой камеры. Патент на эту технологию обнародовало на этой неделе Бюро патентов и торговых марок США.

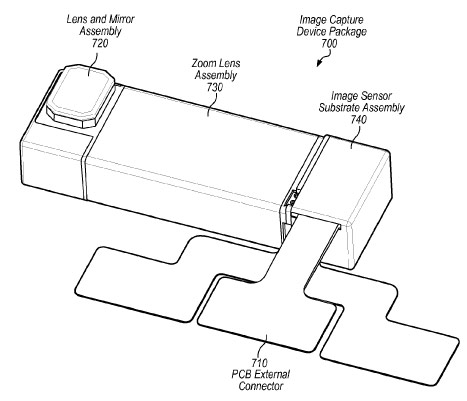
В документе описано устройство объектива для смартфонов с изменяемым фокусным расстоянием. Чтобы не увеличивать габариты iPhone, специалисты Apple предложили расположить объектив так, чтобы оптическая ось была параллельна плоскости экрана. С одной стороны к объективу примыкает датчик изображения, а с другой — блок с зеркалом, поворачивающим световой поток на 90 градусов.
На одном из изображений к патенту показано сечение конструкции. Блок с зеркалом находится в верхней части, блок с датчиком изображения — снизу. В центральной части находятся подвижные группы элементов объектива, перемещение которых приводит к изменению фокусного расстояния.

На современном этапе развития оптический зум в смартфонах делает их похожими на камеры больше, чем на телефоны. Можно рассчитывать, что в новом поколении iPhone Apple предоставит достаточный уровень увеличения и высокое качество получаемых снимков при сохранении компактных размеров смартфона.