Apple разработала интерактивный трехмерный дисплей, проецирующий изображение в воздухе
Apple разработала интерактивный трехмерный дисплей, который проецирует изображение в воздухе. Заявку на регистрацию этой технологии производитель подал на этой неделе в Бюро патентов и торговых марок США.
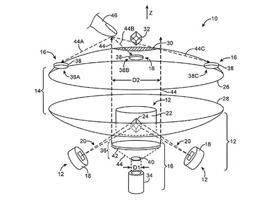
Инновационная технология позволяет получить трехмерное изображение без использования специальных очков. По задумке специалистов Apple, система будет проецировать картинку в воздухе над углубленным зеркальным модулем, используя инфракрасные лазеры и другие светоизлучающие устройства. При этом изображение будет интерактивным: пользователь сможет управлять им с помощью жестов и касаний.
Схожие технологии разрабатывают и другие крупные компании. В арсенале Microsoft, к примеру, есть прототип сенсорного голографического экрана под названием Vermeer Interactive Display. Устройство при помощи датчиков контроллера Kinect, которые отслеживают движения пользователя, позволяет взаимодействовать с голографическим проецируемым изображением.

Для создания голографического изображения используется проекция на два противопоставленных параболических зеркала. Именно они создают оптическую иллюзию цветного объемного изображения, которое можно увидеть под любым углом одновременно.
О том, в каких продуктах может найти применение трехмерный дисплей Apple, пока неизвестно. Ранее компания получила патент на 3D-очки для просмотра видео. Как сообщалось, устройство будет состоять из наружного покрытия, корпуса, оптических компонентов и линз, на которых будет отображаться изображение. Связываться гаджет будет с «яблочными» продуктами, которые и будут транслировать видео.