Apple разработала гарнитуру со встроенным акселерометром для активного шумоподавления
Apple получила патент на наушники с системой активного шумоподавления, работающую за счет встроенного в аксессуар акселерометра. Способы интеграции сенсора описаны как для наушников-вкладышей, так и для накладных наушников.
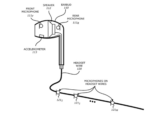
Патент называется «Система и методы определения голосовой активности пользователя при помощи акселерометра». Технология предусматривает интеграцию датчика в каждую чашку наушников. Благодаря этому сенсору и двум встроенным микрофонам, гарнитура сможет определять голосовую активность человека и обеспечить функцию активного шупоподавления. По словам Apple, эта технология весьма эффективна и позволяет во время разговора снизить фоновый шум до 95%.

В описании заявки Apple говорит о том, что высокий уровень шума является одной из самых частых жалоб пользователей гарнитур и наушников со встроенным микрофонами: одновременно с голосом человека в канал попадают и окружающие шумы. Они накладываются на голос и существенно ухудшают качество голосовой связи.
Встроенный в наушники Apple акселерометр будет определять речь человека на основе колебаний его голосовых связок. В комбинации с акустическими сигналами с микрофонов технология позволяет выделить речь человека и устранить посторонние шумы. Патент на новую технологию был получен 3 апреля, а зарегистрирован 15 марта 2013 года.

Не так давно Бюро патентов и торговых марок США обнародовало патентную заявку Apple на наушники, способные определять температуру тела, пульс, степень потоотделения, отслеживать передвижения пользователя и его активность. Наушники смогут передавать данные на подключенные iPhone и iPad по проводу или через Bluetooth.