Apple разработала «двухрежимные наушники», которые могут превращаться в портативные колонки
Одно из основных достоинств любых наушников – изоляция звука. К сожалению, производители не всегда обращают внимание на этот аспект. В итоге, любая поездка на общественном транспорте оборачивается коллективным прослушиванием высокочастотных шумов, поступающих из ушей рядом стоящего пассажира. Apple, судя по всему, хочет усугубить ситуацию. Не исключено, что уже в ближайшее время поклонников «яблочной» техники перестанут пускать в общественный транспорт, опасаясь их музыкальных предпочтений.
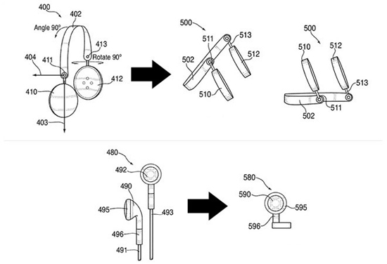
Дело в том, что Apple запатентовала особые «двухрежимные наушники», которые способны по желанию владельца превращаться либо в обычные головные телефоны, либо в колонки.
Далеко не у всех пользователей есть отдельные колонки, к которым можно подключить iPhone для более качественного прослушивания музыки. Зато наушники есть у многих. Решением проблемы, по замыслу Apple, может стать особая гарнитура, которая может быть достаточно мощной для того, чтобы выступать в качестве портативных колонок.

Запатентованные Apple «двухрежимные наушники» включают две пары разных громкоговорителей, которые могут менять источник выходного сигнала, исходя из своего положения. Специальные сенсоры будут определять, находятся ли наушники в ушах или нет. Если пользователь надел гарнитуру, то включаются стандартные динамики, если достал из ушей – более мощная пара.
Пользователь сможет самостоятельно переключать режимы воспроизведения с помощью кнопок на корпусе. А механическая выдвижная подставка зафиксирует положение наушников, когда их понадобится превратить в портативные колонки.

Примечательно, что помимо обычных наушников, по мнению разработчиков, музыкальными колонками могут стать и внутриканальные модели. Инженеры Apple предлагают расположить динамики в той части корпуса, которая находится на внешней стороне наушников.
О сроках практической реализации патента в Apple традиционно предпочли умолчать.