Apple разместит сканер отпечатков пальцев под дисплеем «безрамочного» iPhone 8
Apple работает над сканером отпечатков пальцев, который будет работать, находясь под дисплеем смартфона. Об этом свидетельствует заявка на патент, поданная компанией из Калифорнии в Бюро по регистрации патентов и торговых марок США. Наблюдатели предполагают, что разработка может найти применение в следующем поколении смартфонов iPhone.
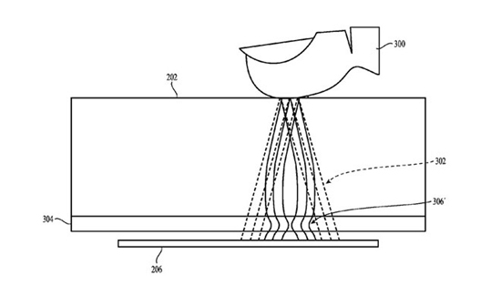
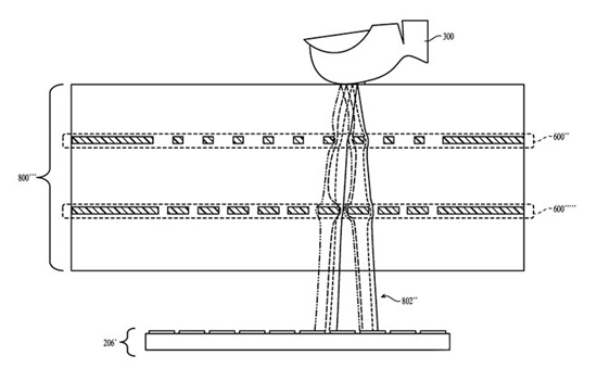
Заявка №9460332 была подана еще в июне 2015 года и носит название «Емкостный сканер отпечатков пальцев и электростатические линзы». В документе Apple рассказала о возможности внедрения биометрического модуля под стекло смартфона, а не в кнопку Home, как в существующих моделях iPhone и iPad. Описываемый способ распознавания отпечатков предполагает, что пользователь может прикладывать палец к определенному участку экрана мобильного устройства.
Невозможность внедрить сканер Touch ID под дисплей смартфона обусловлена искажениями стекла, которые не позволяют точно считывать отпечатки пальцев. Чтобы решить эту проблему разработчики Apple планируют внедрить в дисплейную панель слой электростатических линз. Последние специальным образом адаптируют изображение отпечатка пальца и в точном виде передают его на дактилоскоп через поверхность стекла.

Ранее известный блогер Джон Грубер сообщил, что 2017 году Apple намерена кардинально пересмотреть дизайн iPhone. У нового поколения «яблочных» устройств будет одна большая дисплейная панель без кнопки Home, отступов по краям и технологических отверстий для камеры и динамика. При этом отмечалось, что Touch ID будет встроен непосредственно в сам дисплей.

О масштабном обновлении iPhone писал и авторитетный аналитик KGI Минг Чи Куо, по данным которого Apple решила пересмотреть дизайн смартфонов, полностью изменив форм-фактор. По его сведениям, пользователей ждет «совершенно новый форм-фактор с более тонкими рамками вокруг экрана и более удобным хватом».