Apple работает над собственным аналогом проекта «очков будущего» HoloLens от Microsoft
Мы видели множество запатентованных технологий Apple, которые в дальнейшем были реализованы в iPhone, iPad и Mac. Но многие разработки компании, пока так и не дошли до стадии готовых продуктов. Одной из таких технологий является дополненная реальность.
Недавно в портфолио Apple появился новый патент, описывающий специфический проектор, который сканирует помещение, а затем использует полученную информацию для работы с виртуальной реальности. По схожему принципу работает проект HoloLens от Microsoft, который в компании называют «самым передовым голографическим компьютером, который когда-либо видел мир».
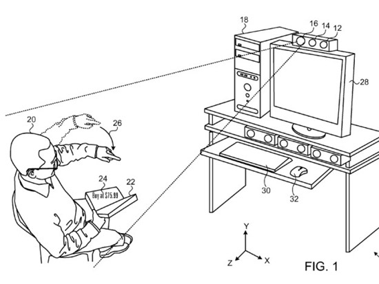
Патент Apple называется «Адаптивный проектор». Он описывает камеру дополненной реальности, которая позволяет человеку произвести съемку помещения и объектов для определения поверхности, на которые можно проецировать виртуальное содержимое. Работать с таким контентом предлагается с помощью AR-очков.
Патент предполагает заинтересованность Apple в дальнейшем изучении этой области и планы по созданию продуктов, которые позволят пользователям интерактивно взаимодействовать с их окружением.
В документе Apple содержатся наглядные примеры использования проектора дополненной реальности. Так, пользователь может просматривать «парящий» в воздухе каталог iTunes с музыкой, фильмами или книгами, после чего совершить покупку. Вокруг «голограммы» можно не только ходить и наблюдать их с разных ракурсов, но и взаимодействовать с ней — перемещать, растягивать, уменьшать или вовсе убирать из поля зрения.

Технология может использоваться во многих контекстах — от пользовательского (игры, FaceTime, просмотр видео) до профессионального (3D-проектирование, совместная работа). Играть в Minecraft, размещая блоки на объектах интерьера и мебели гостиной, совершить виртуальный тур по далекой галактике.
Такой сценарий кажется знакомым, потому что Microsoft активно работает над схожей технологией. Версия очков HoloLens для разработчиков, которую можно будет приобрести за $3000, появится в начале следующего года.
Похоже, что Apple работает в том же направлении. Однако на сегодняшний день нет никакой информации о подготовке нового устройства или внедрении такого функционала в будущие модели Apple TV или Mac. С другой стороны, в активе Apple есть разработки компании PrimeSence, технологии которой использовалась в первом Xbox Kinect. Корпорация из Купертино получила все ее патенты, которые описывают работу с дополненной реальностью и 3D-интерфейсы.