Apple работает над новым революционным типом компьютеров
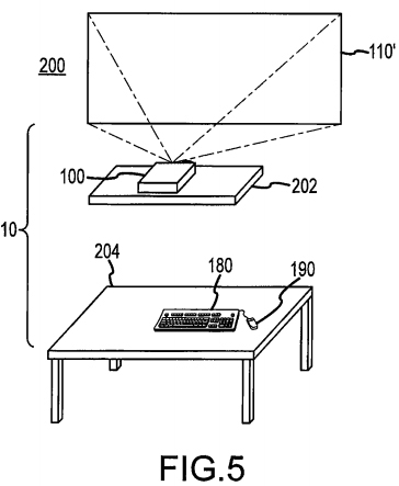
Apple получила патент на «компьютерную систему с проецирующим дисплеем». У этого устройства нет встроенного дисплея, клавиатуры и периферийных проводов.

Экран будет заменен проекцией, а зарядное устройство будет индуктивным. Само устройство описано как полноценный компьютер, а не просто проектор. Пользовательский интерфейс, тоже спроецированный, будет меняться на основе расстояния устройства к поверхности.

Эта система дословно называется «стол без компьютера», так как патентуемое устройство не является ни компьютером, ни ноутбуком.